授权公布号:CN218472801U
一种可更换输出接头的直插式移动电源和一种移动电源保护套
有效
申请
2022-09-21
申请公布
1970-01-01
授权
2023-02-10
预估到期
2032-09-21
| 申请号 | CN202222505601.0 |
| 申请日 | 2022-09-21 |
| 授权公布号 | CN218472801U |
| 授权公告日 | 2023-02-10 |
| 分类号 | H02J7/00 |
| 分类 | 发电、变电或配电; |
| 申请人名称 | 厦门广开电子有限公司 |
| 申请人地址 | 福建省厦门市集美区环珠路385号第四层 |
专利法律状态
2023-02-10
授权
状态信息
授权
摘要
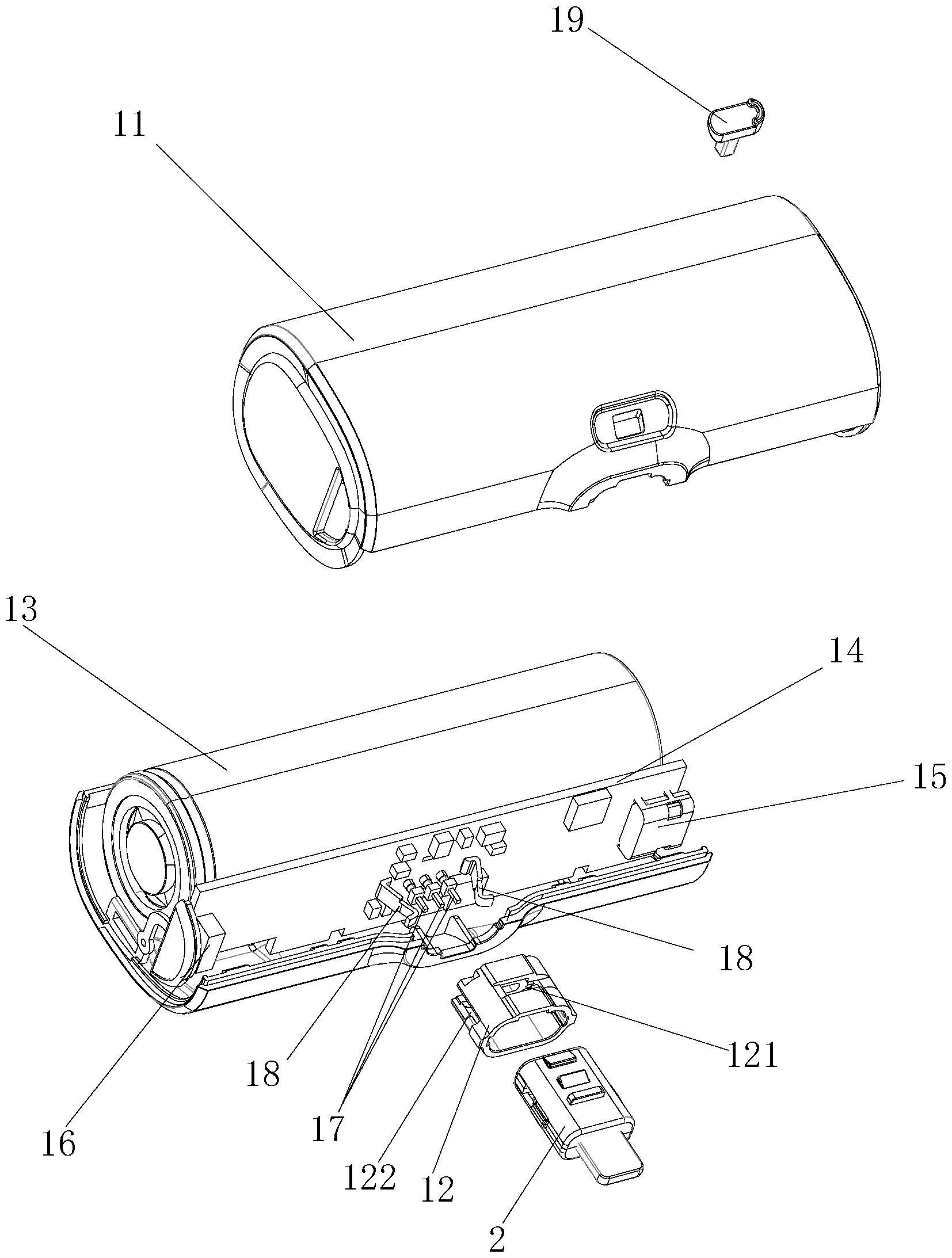
本实用新型公开了一种可更换输出接头的直插式移动电源和一种移动电源保护套,包括移动电源本体和可拆卸安装在移动电源本体上的输出接头,移动电源本体上设置有电源输出部、安装孔和活动限位件,输出接头上设置有电源输出配合部和第一限位部;输出接头插装在安装孔上,实现电源输出配合部与电源输出部电性连接,活动限位件与第一限位部形成活动限位,从而实现将输出接头可拆卸安装在移动电源本体上。本实用新型能够保证电源输出配合部与电源输出部之间的电性连接稳定可靠,避免出现电路接触不良的情况,保证手机的充电效果,且将手机与移动电源本体分离时,输出接头也不会脱离出移动电源本体而继续插接在手机的充电接口上,保证用户体验。


