授权公布号:CN214827884U
一种线缆生产线用导料机构
有效
申请
2021-05-26
申请公布
1970-01-01
授权
2021-11-23
预估到期
2031-05-26
| 申请号 | CN202121138835.5 |
| 申请日 | 2021-05-26 |
| 授权公布号 | CN214827884U |
| 授权公告日 | 2021-11-23 |
| 分类号 | B65H49/32;B65H49/30;B65H71/00 |
| 分类 | 输送;包装;贮存;搬运薄的或细丝状材料; |
| 申请人名称 | 深圳市秋叶原实业有限公司 |
| 申请人地址 | 广东省深圳市宝安区新安街道留仙二路中粮创智厂区1栋11层 |
专利法律状态
2021-11-23
授权
状态信息
授权
摘要
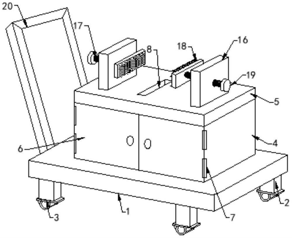
本实用新型涉及线缆生产装置技术领域,具体为一种线缆生产线用导料机构,包括支撑板,所述支撑板的底部固定连接有多个支脚,多个所述支脚的底部均固定连接有移动机构,所述支撑板的顶部固定连接有料箱,所述料箱的顶部固定连接有箱盖,所述料箱的正表面设有对称设置的两个箱门,两个所述箱门相背的一侧均通过多个合页与料箱铰接设置,所述箱盖的顶部设有与料箱连通的出料口,所述料箱的一侧内壁上固定连接有电机,该线缆生产线用导料机构移动方便,能快速在车间内对物料进行运输,在对线缆进行导料时便于对料辊的拆装,实现快速更换,且通过毛刷清理机构的设置能够在导料同时对线缆表面灰尘进行清理。


