授权公布号:CN214472441U
一种插头弯曲试验机的夹持机构
有效
申请
2021-03-31
申请公布
1970-01-01
授权
2021-10-22
预估到期
2031-03-31
| 申请号 | CN202120658112.1 |
| 申请日 | 2021-03-31 |
| 授权公布号 | CN214472441U |
| 授权公告日 | 2021-10-22 |
| 分类号 | G01N3/20;G01N3/04 |
| 分类 | 测量;测试; |
| 申请人名称 | 深圳市秋叶原实业有限公司 |
| 申请人地址 | 广东省深圳市宝安区新安街道留仙二路中粮创智厂区1栋11层 |
专利法律状态
2021-10-22
授权
状态信息
授权
摘要
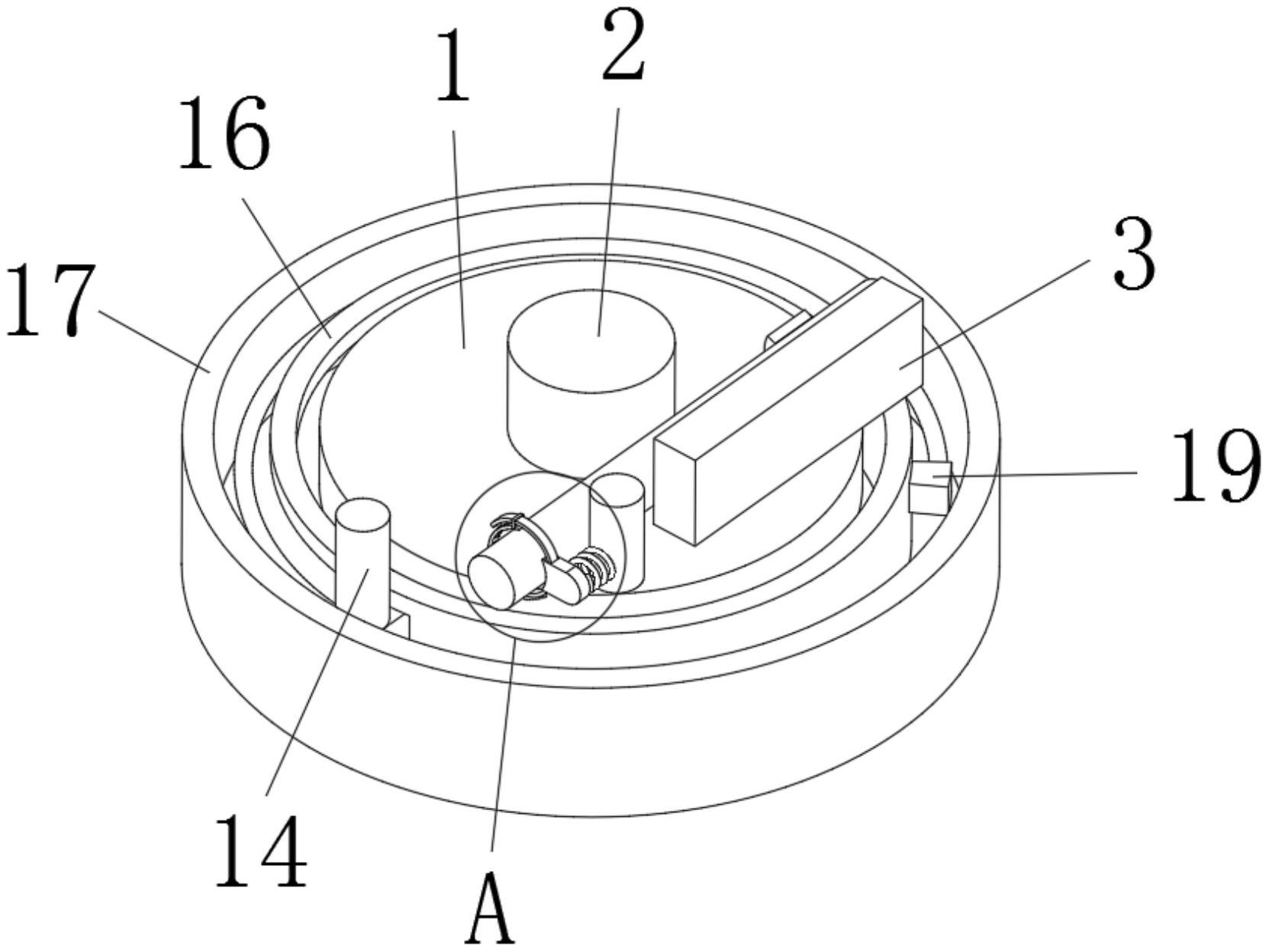
本实用新型涉及试验机技术领域,具体为一种插头弯曲试验机的夹持机构,包括转盘和中心柱,所述转盘的上表面与中心柱的下表面固定连接,所述转盘的上方设置有外抵块,所述外抵块靠近中心柱的一侧活动连接有弯曲杆,且弯曲杆与中心柱的表面相抵,所述转盘的上表面固定连接有固定柱,所述固定柱的表面固定连接有伸缩弹簧,所述伸缩弹簧远离固定柱的一端固定连接有连接块,所述连接块的内壁活动连接有活动环,所述活动环的内壁与弯曲杆的表面相抵,所述活动环的内壁固定连接有插接块。本实用新型便于将弯曲杆稳定的固定于转盘上,不会造成实验数据的不准确,且易于利用手动操作,转动转盘,来取得试验数值,节省电力能源成本。


