授权公布号:CN212085331U
一种线缆连接装置
有效
申请
2020-05-18
申请公布
1970-01-01
授权
2020-12-04
预估到期
2030-05-18
| 申请号 | CN202020818160.8 |
| 申请日 | 2020-05-18 |
| 授权公布号 | CN212085331U |
| 授权公告日 | 2020-12-04 |
| 分类号 | H01R13/629 |
| 分类 | 基本电气元件; |
| 申请人名称 | 深圳市秋叶原实业有限公司 |
| 申请人地址 | 广东省深圳市宝安区新安街道留仙二路中粮创智厂区1栋11层 |
专利法律状态
2020-12-04
授权
状态信息
授权
摘要
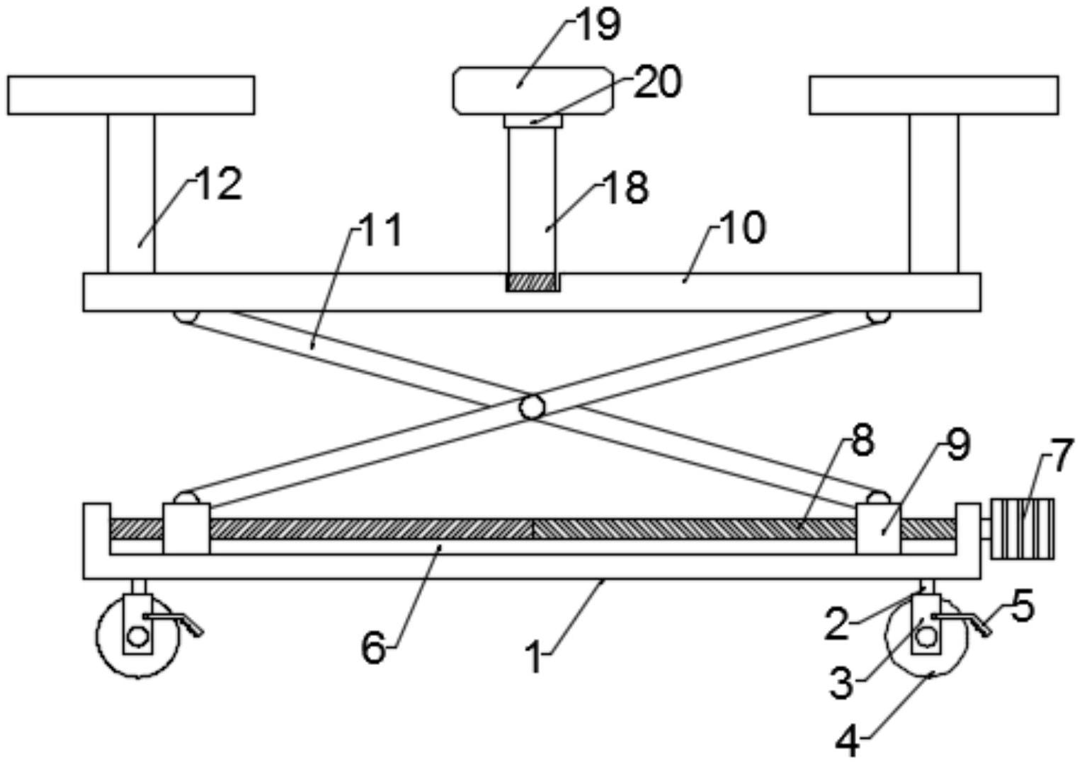
本实用新型适用于电力设备技术领域,提供了一种线缆连接装置,所述连接装置包括支撑底板,所述支撑底板的底部安装有可固定移动机构,所述支撑底板的上方设有升降机构;所述升降机构包括升降板,所述升降板的上表面左右对称设有线缆固定机构,两个线缆固定机构之间安装有金属连接件;所述线缆固定机构通过固定杆固定在所述升降板的上表面,所述金属连接件通过活动杆活动安装在所述升降板的上表面。本实用新型能在将两端线缆连接时起到承托固定的作用,无需人工托举,减少了人工成本,可单人操作,提高了连接效率,通过金属连接件达到连接电缆的目的,提高了实用性。


