授权公布号:CN215248075U
一种电芯托盘下料机构
有效
申请
2021-01-28
申请公布
1970-01-01
授权
2021-12-21
预估到期
2031-01-28
| 申请号 | CN202120248087.X |
| 申请日 | 2021-01-28 |
| 授权公布号 | CN215248075U |
| 授权公告日 | 2021-12-21 |
| 分类号 | B65G47/91 |
| 分类 | 输送;包装;贮存;搬运薄的或细丝状材料; |
| 申请人名称 | 飞毛腿(福建)电子有限公司 |
| 申请人地址 | 福建省福州市马尾区江滨东大道98号(自贸试验区内) |
专利法律状态
2021-12-21
授权
状态信息
授权
摘要
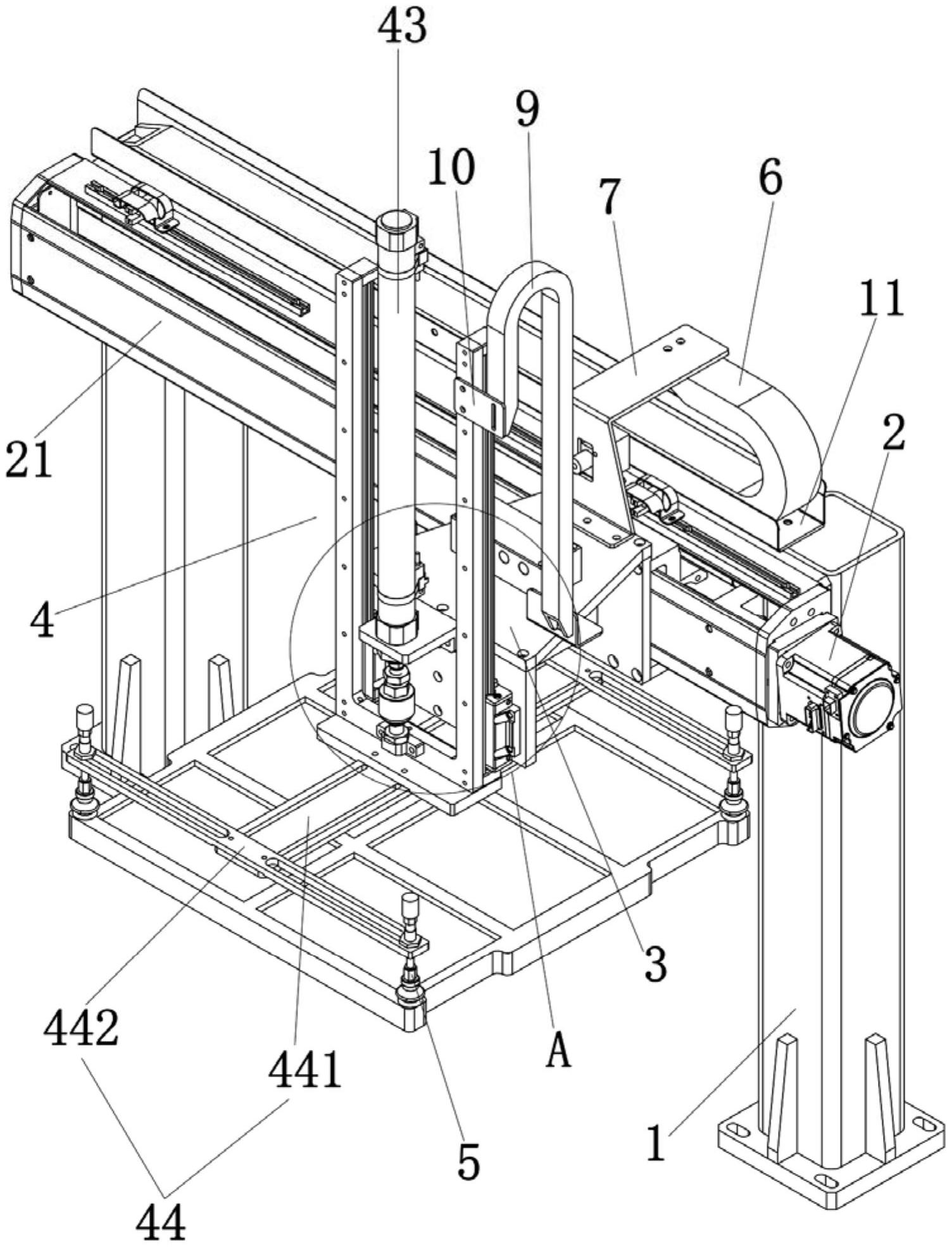
本实用新型公开了一种电芯托盘下料机构,包括基座、搬运机组、安装连接块、升降机构和吸嘴,其特征在于:所述搬运机组安装在基座上,所述安装连接块滑动安装在搬运机组的滑轨上;所述升降机构分为升降轨道、固定支架、气缸和吸嘴固定组件,所述升降轨道一侧滑动安装在安装连接块上,所述升降轨道另一侧与固定支架连接,所述气缸固定在安装连接块上,所述气缸通过联轴器与固定支架上的连接轴相连,所述吸嘴固定组件安装在固定支架下方;所述吸嘴安装在吸嘴固定组件上。本实用新型不仅可控性强,工作效率高,而且能够节约人工成本,经济效益好。


