授权公布号:CN215902234U
一种用于测量注塑电池五金窗口深度的治具
有效
申请
2021-09-18
申请公布
1970-01-01
授权
2022-02-25
预估到期
2031-09-18
| 申请号 | CN202122277064.4 |
| 申请日 | 2021-09-18 |
| 授权公布号 | CN215902234U |
| 授权公告日 | 2022-02-25 |
| 分类号 | B07C5/06;B07C5/02 |
| 分类 | 将固体从固体中分离;分选; |
| 申请人名称 | 飞毛腿(福建)电子有限公司 |
| 申请人地址 | 福建省福州市马尾区江滨东大道98号(自贸试验区内) |
专利法律状态
2022-02-25
授权
状态信息
授权
摘要
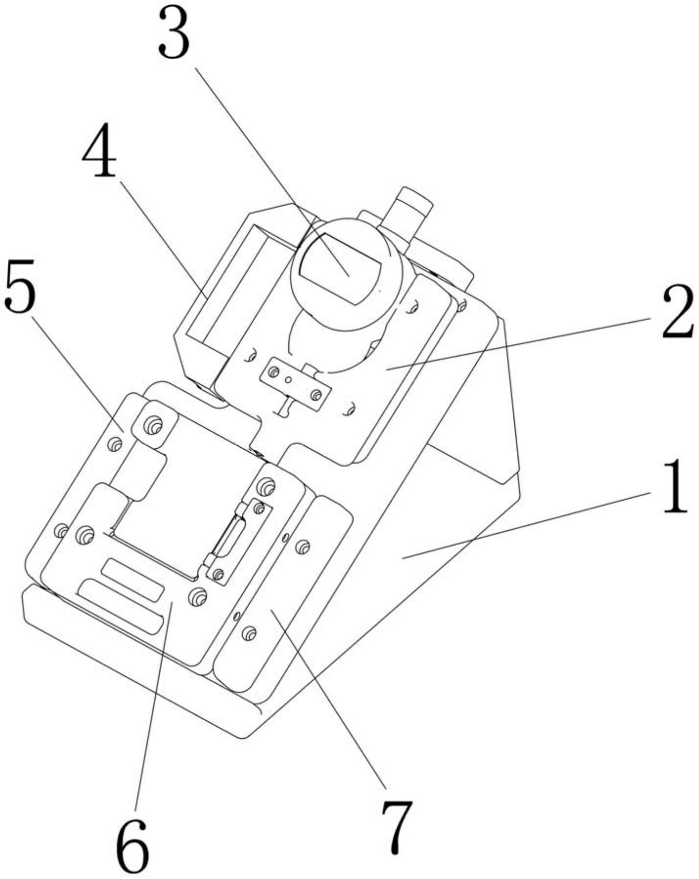
本实用新型公开了一种用于测量注塑电池五金窗口深度的治具,包括治具底座、千分表固定底座、千分表、拉手、左限位块、电池限位槽和右限位块,所述治具底座的倾斜面上靠近上方位置设有千分表固定底座;所述千分表固定底座上活动连接有千分表,所述千分表上靠近下方位置连接球头测试针;所述治具底座的倾斜面上靠近底部位置两侧设有左限位块和右限位块;所述左限位块和右限位块之间活动连接有电池限位槽。本实用新型通过创新性的治具结构设计,将电池的五金深度的检测纳入到电池封装工艺流程中达到全检五金窗口深度的目的,推动了电池封装工艺流程革新。


