授权公布号:CN219084973U
原子力显微镜以及材料表面检测系统
有效
申请
2023-02-24
申请公布
1970-01-01
授权
2023-05-26
预估到期
2033-02-24
| 申请号 | CN202320334336.6 |
| 申请日 | 2023-02-24 |
| 授权公布号 | CN219084973U |
| 授权公告日 | 2023-05-26 |
| 分类号 | G01Q60/38 |
| 分类 | 测量;测试; |
| 申请人名称 | TCL科技集团股份有限公司 |
| 申请人地址 | 广东省惠州市仲恺高新区惠风三路17号TCL科技大厦 |
专利法律状态
2023-05-26
授权
状态信息
授权
摘要
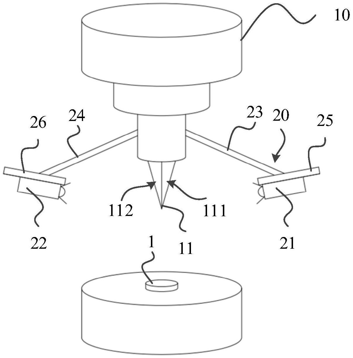
本申请提供一种原子力显微镜以及材料表面检测系统,原子力显微镜包括:原子力显微组件,原子力显微组件具有测量探针;成像组件,成像组件包括第一摄像镜头以及第二摄像镜头,第一摄像镜头和第二摄像镜头分别位于测量探针相邻的两侧;其中,第一摄像镜头用于获取测量探针一侧的第一轮廓像,第二摄像镜头用于获取测量探针另一侧的第二轮廓像,以结合第一轮廓像和第二轮廓像判断测量探针是否异常。本申请可以结合第一轮廓像和第二轮廓像判断测量探针是否异常(例如针尖边钝或者被污染),避免测试过程由于针尖被污染或针尖变钝而导致AFM图像准确性降低的现象。


