授权公布号:CN113228146B
一种显示基板及其制作方法、显示装置
有效
申请
2019-11-20
申请公布
2021-08-06
授权
2024-03-22
预估到期
2039-11-20
| 申请号 | CN201980002512.2 |
| 申请日 | 2019-11-20 |
| 申请公布号 | CN113228146A |
| 申请公布日 | 2021-08-06 |
| 授权公布号 | CN113228146B |
| 授权公告日 | 2024-03-22 |
| 分类号 | G09G3/20;G11C19/28 |
| 分类 | 教育;密码术;显示;广告;印鉴; |
| 申请人名称 | 京东方科技集团股份有限公司 |
| 申请人地址 | 北京市朝阳区酒仙桥路10号 |
专利法律状态
2024-03-22
授权
状态信息
授权
2021-08-24
实质审查的生效
状态信息
实质审查的生效;IPC(主分类):G09G3/20;申请日:20191120
2021-08-06
公布
状态信息
公布
摘要
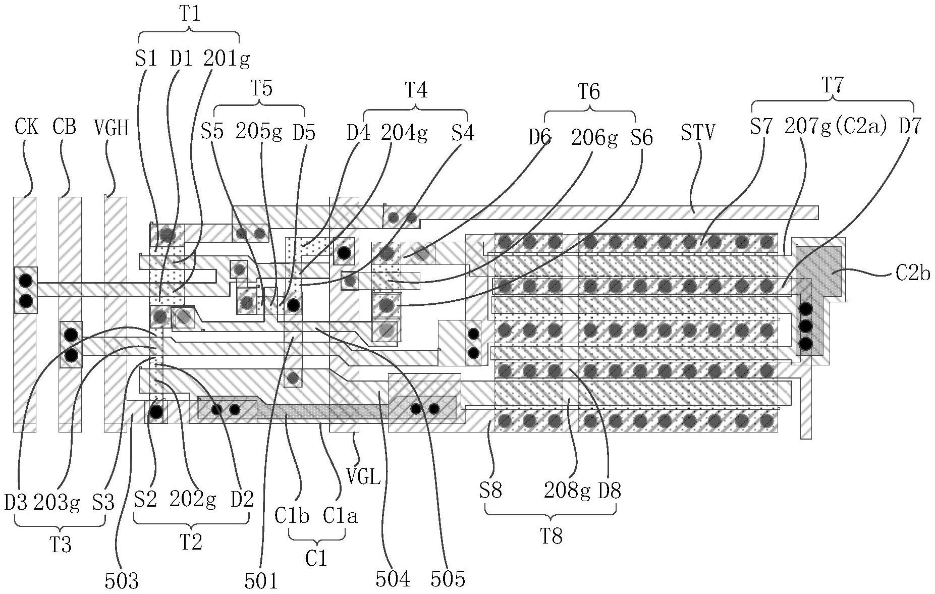
一种显示基板及其制作方法、显示装置。所述显示基板包括:基底,以及设置在所述基底上的栅极驱动电路;所述栅极驱动电路包括:帧起始信号线(STV)、时钟信号线(CK)、反相时钟信号线(CB)、第一电平信号线(VGH)、第二电平信号线(VGL)以及多个移位寄存器单元;多个晶体管至少包括第一晶体管(T1)、第二晶体管(T2)和第三晶体管(T3),第一晶体管(T1)的有源层、第二晶体管(T2)的有源层和第三晶体管(T3)的有源层由一个连续的第一半导体层(11)形成,第一半导体层(11)沿第一方向延伸;第一半导体层(11)包括与第一晶体管(T1)、第二晶体管(T2)和第三晶体管(T3)对应的至少三个沟道部分(110),以及设置在相邻的沟道部分(110)之间的导电部分(111),相邻的沟道部分(110)对应的多个晶体管之间通过对应的导电部分(111)耦接。


