授权公布号:CN206646714U
组合式穿孔吸音天花
有效
申请
2017-03-20
申请公布
1970-01-01
授权
2017-11-17
预估到期
2027-03-20
| 申请号 | CN201720270480.2 |
| 申请日 | 2017-03-20 |
| 授权公布号 | CN206646714U |
| 授权公告日 | 2017-11-17 |
| 分类号 | E04B9/04 |
| 分类 | 建筑物; |
| 申请人名称 | 厦门市前沿科技开发有限公司 |
| 申请人地址 | 福建省厦门市火炬高新区软件园华讯楼A区B1F-048 |
专利法律状态
2017-11-17
授权
状态信息
授权
摘要
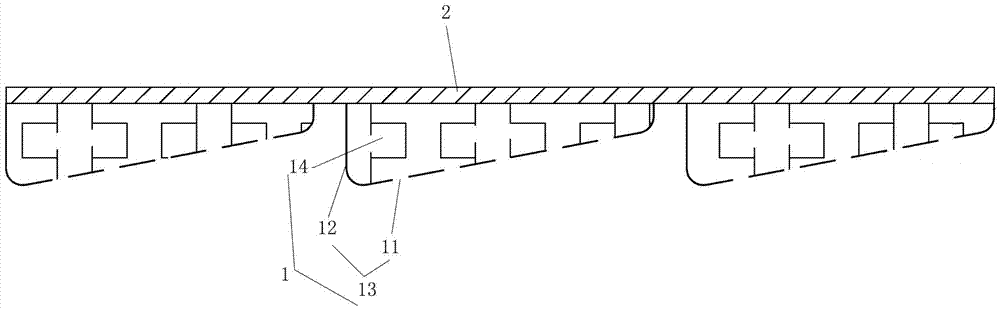
本实用新型公开组合式穿孔吸音天花,由若干以平铺方式拼装于房间天花板上的吸音模块构成,每个吸音模块由具有容槽的板材和填充在容槽中的吸音棉组成,每个吸音模块与房间天花板结合形成独立的吸音腔体,容槽的底面呈倾斜状,容槽底面开设按一定规律排列的小穿孔,且所有小孔面积总和等于或大于容槽开孔那一面的面积的30%,使穿孔率为30%以上。本实用新型适用于听音的小空间,演唱环境的吸音,使空间声场干净清晰。


