授权公布号:CN220671964U
一种伸缩式移动U盘
有效
申请
2023-08-15
申请公布
1970-01-01
授权
2024-03-26
预估到期
2033-08-15
| 申请号 | CN202322198333.7 |
| 申请日 | 2023-08-15 |
| 授权公布号 | CN220671964U |
| 授权公告日 | 2024-03-26 |
| 分类号 | G06K19/077 |
| 分类 | 计算;推算;计数; |
| 申请人名称 | 深圳市忆捷创新科技有限公司 |
| 申请人地址 | 广东省深圳市龙岗区南湾街道下李朗社区布澜路17号富通海智科技园4栋1201A |
专利法律状态
2024-03-26
授权
状态信息
授权
摘要
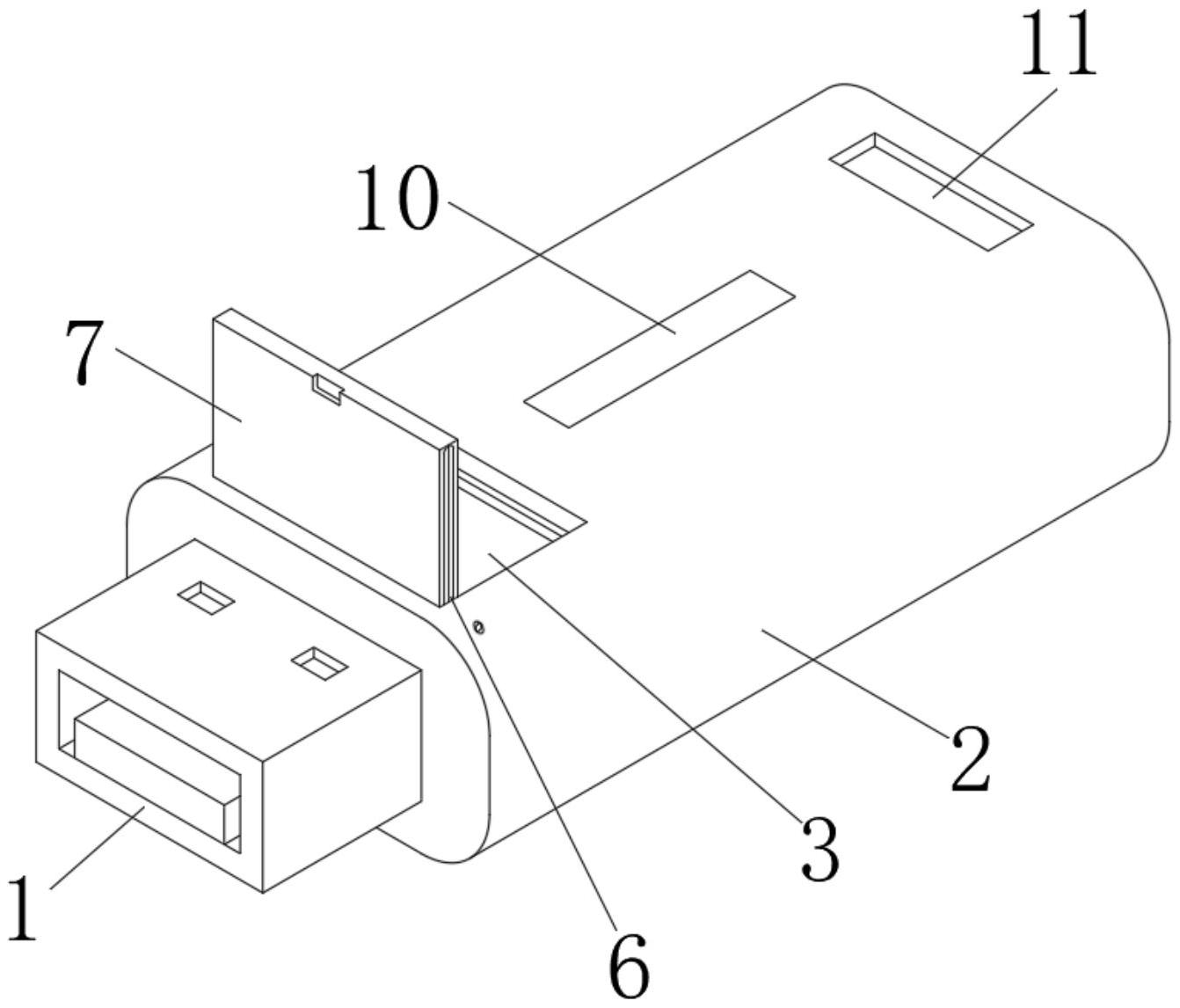
本实用新型公开了一种伸缩式移动U盘,包括U盘本体,所述U盘本体滑动套设在保护外壳内部构造的矩形通槽内,所述保护外壳的表面构造有收纳槽,且收纳槽靠近保护外壳一侧与矩形通槽相连通,所述保护外壳外周构造有与收纳槽边缘侧相连通的圆孔,且圆孔内插接有限位杆,所述限位杆的端部之间限位滑动有端部封闭板,所述保护外壳的内壁构造有与端部封闭板适配的卡槽。本实用新型不使用时可将U盘端部封闭保护,避免受到灰尘和水滴的干扰,保护效果较佳,伸缩拉动较为方便。


