授权公布号:CN211918548U
带有固定基座的车载影音播放器
有效
申请
2020-03-26
申请公布
1970-01-01
授权
2020-11-13
预估到期
2030-03-26
| 申请号 | CN202020401584.4 |
| 申请日 | 2020-03-26 |
| 授权公布号 | CN211918548U |
| 授权公告日 | 2020-11-13 |
| 分类号 | B60R11/02 |
| 分类 | 一般车辆; |
| 申请人名称 | 深圳市麦思美科技有限公司 |
| 申请人地址 | 广东省深圳市龙岗区坪地街道埔仔路26号2栋6、7、8层 |
专利法律状态
2020-11-13
授权
状态信息
授权
摘要
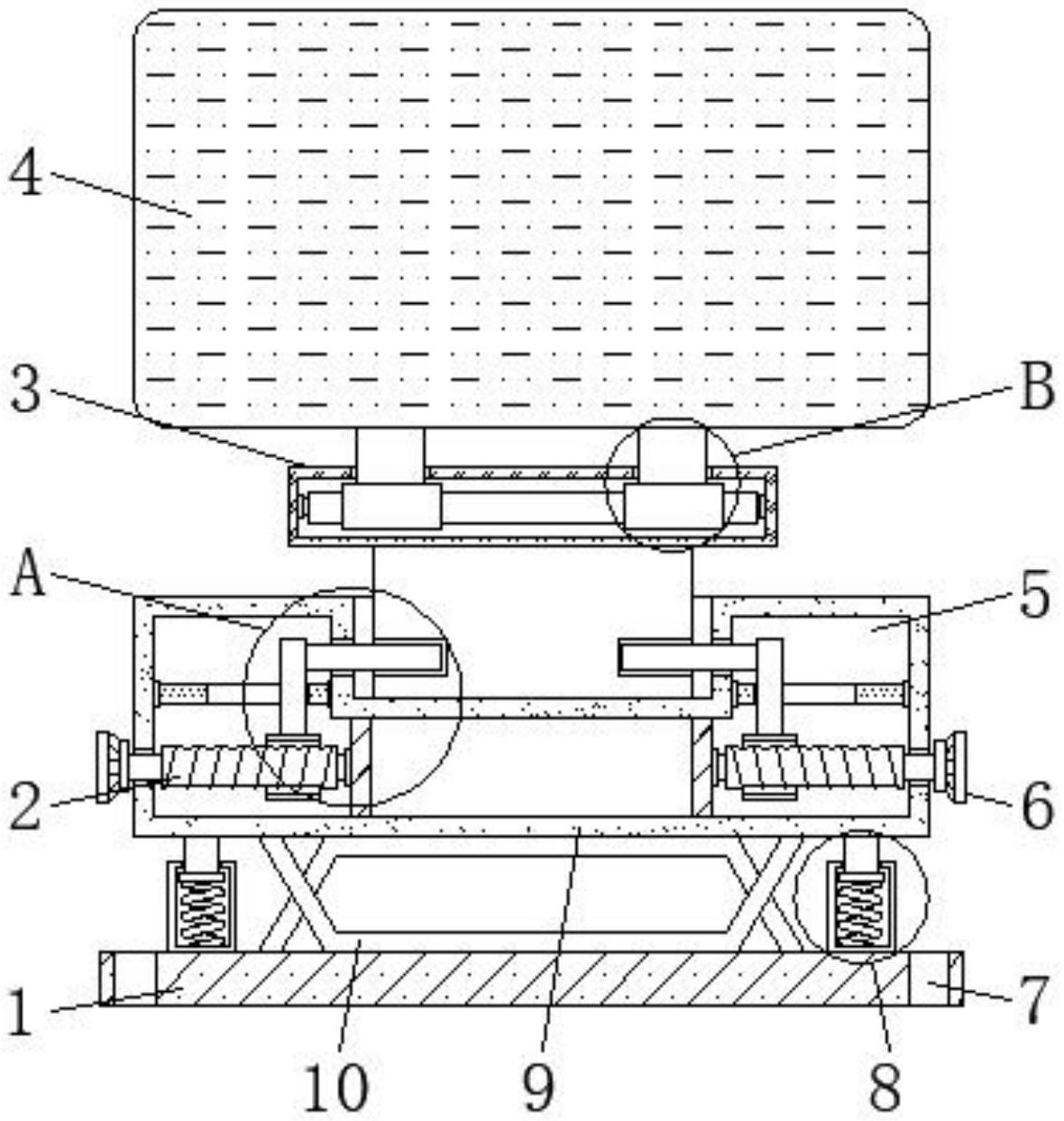
本实用新型公开了带有固定基座的车载影音播放器,包括基座本体、转动腔体、播放器本体、定位销和基台,所述基座本体的上方设有基台,且基台底端的中心位置处安装有两组弹片,弹片的底端与基座本体的顶端相连接,并且基座本体底部的拐角位置处皆设有定位销,定位销一侧的基座本体顶端皆设有缓冲结构,所述基台内部的两侧皆设有拆装室,且拆装室内部的一端设有丝杆,丝杆的一端与拆装室的内壁相铰接,基台底部的两外侧壁上皆安装有旋柄,丝杆表面的一侧螺纹连接有螺旋帽。本实用新型不仅提高了车载播放器使用时的便捷性,延长了车载播放器的使用寿命,而且提高了车载播放器使用时的播放效果。


