授权公布号:CN211918551U
一种可调节旋转角度的车载播放器
有效
申请
2020-03-30
申请公布
1970-01-01
授权
2020-11-13
预估到期
2030-03-30
| 申请号 | CN202020433491.X |
| 申请日 | 2020-03-30 |
| 授权公布号 | CN211918551U |
| 授权公告日 | 2020-11-13 |
| 分类号 | B60R11/02 |
| 分类 | 一般车辆; |
| 申请人名称 | 深圳市麦思美科技有限公司 |
| 申请人地址 | 广东省深圳市龙岗区坪地街道埔仔路26号2栋6、7、8层 |
专利法律状态
2020-11-13
授权
状态信息
授权
摘要
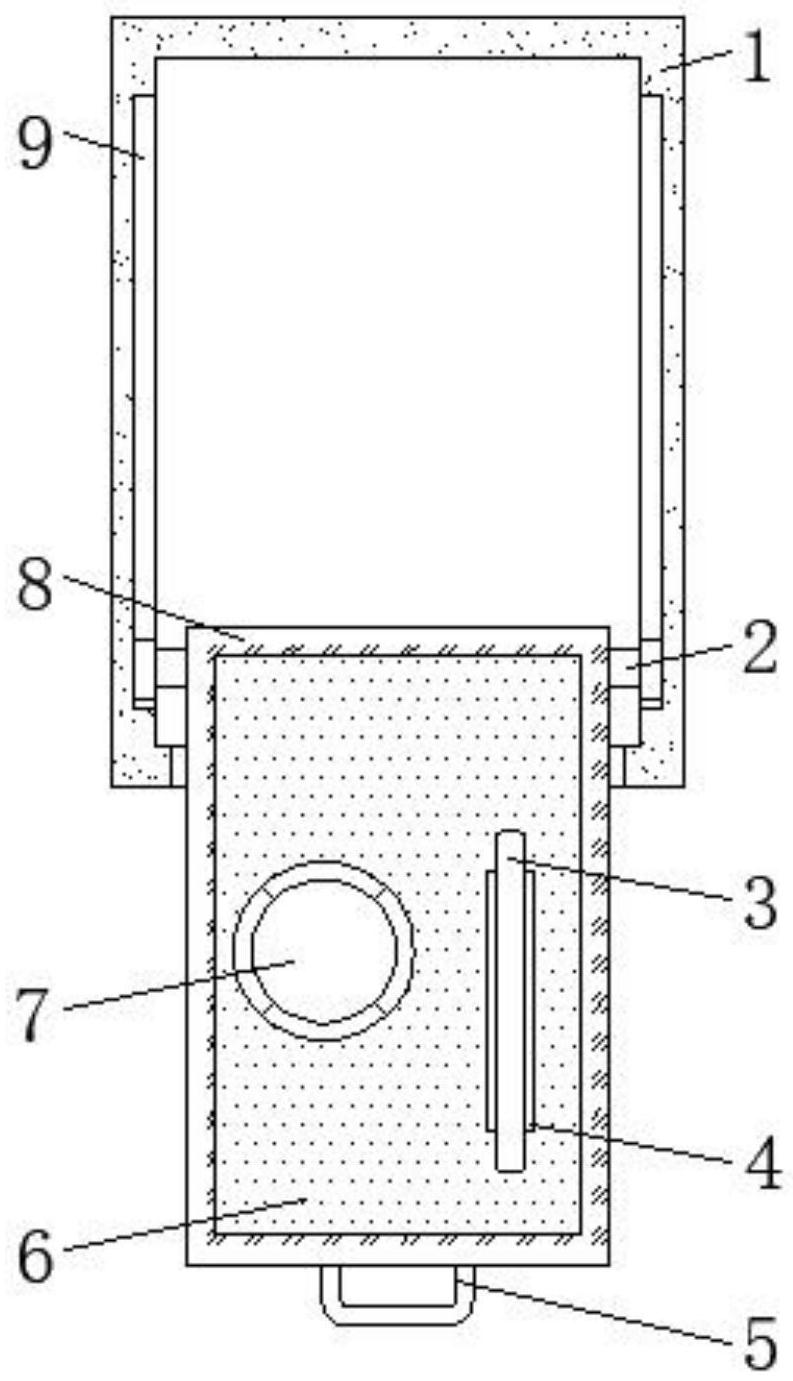
本实用新型公开了一种可调节旋转角度的车载播放器,包括防护壳体、显示屏、播放器本体、播放器基体和限位槽,所述防护壳体的两内侧壁上皆设有限位槽,且限位槽内部的一端皆设有滑块,滑块的一端延伸至限位槽的外部,并且相邻滑块之间的防护壳体内部安装有播放器基体,播放器基体的一端延伸至防护壳体的外部,所述播放器基体的上方设有播放器本体,且播放器本体底端的中心位置处安装有两组弹片,弹片的底端与播放器基体的顶端相连接,并且播放器基体顶端的拐角位置处皆设有缓冲结构。本实用新型不仅延长了车载播放器的使用寿命,提高了车载播放器使用时的稳定性,而且提高了车载播放器使用时的便捷性。


