授权公布号:CN204456419U
一体化雨水/污水提升泵站防冻装置
有效
申请
2015-01-27
申请公布
1970-01-01
授权
2015-07-08
预估到期
2025-01-27
| 申请号 | CN201520058444.0 |
| 申请日 | 2015-01-27 |
| 授权公布号 | CN204456419U |
| 授权公告日 | 2015-07-08 |
| 分类号 | E03F5/22 |
| 分类 | 给水;排水; |
| 申请人名称 | 赛莱默(中国)有限公司 |
| 申请人地址 | 瑞士沙夫豪森市 |
专利法律状态
2020-09-29
专利申请权、专利权的转移
状态信息
专利权的转移;IPC(主分类):E03F5/22;登记生效日:20200910;变更事项:专利权人;变更前:赛莱默水处理系统(沈阳)有限公司;变更后:赛莱默欧洲有限公司;变更事项:地址;变更前:110027 辽宁省沈阳市经济技术开发区开发大路11甲4号;变更后:瑞士沙夫豪森市
2017-03-15
专利申请权、专利权的转移
状态信息
专利权的转移;IPC(主分类):E03F5/22;登记生效日:20170221;变更事项:专利权人;变更前:赛莱默(中国)有限公司;变更后:赛莱默水处理系统(沈阳)有限公司;变更事项:地址;变更前:200051 上海市长宁区遵义路100号虹桥上海城A座30楼3110-3014室;变更后:110027 辽宁省沈阳市经济技术开发区开发大路11甲4号
2015-07-08
授权
状态信息
授权
摘要
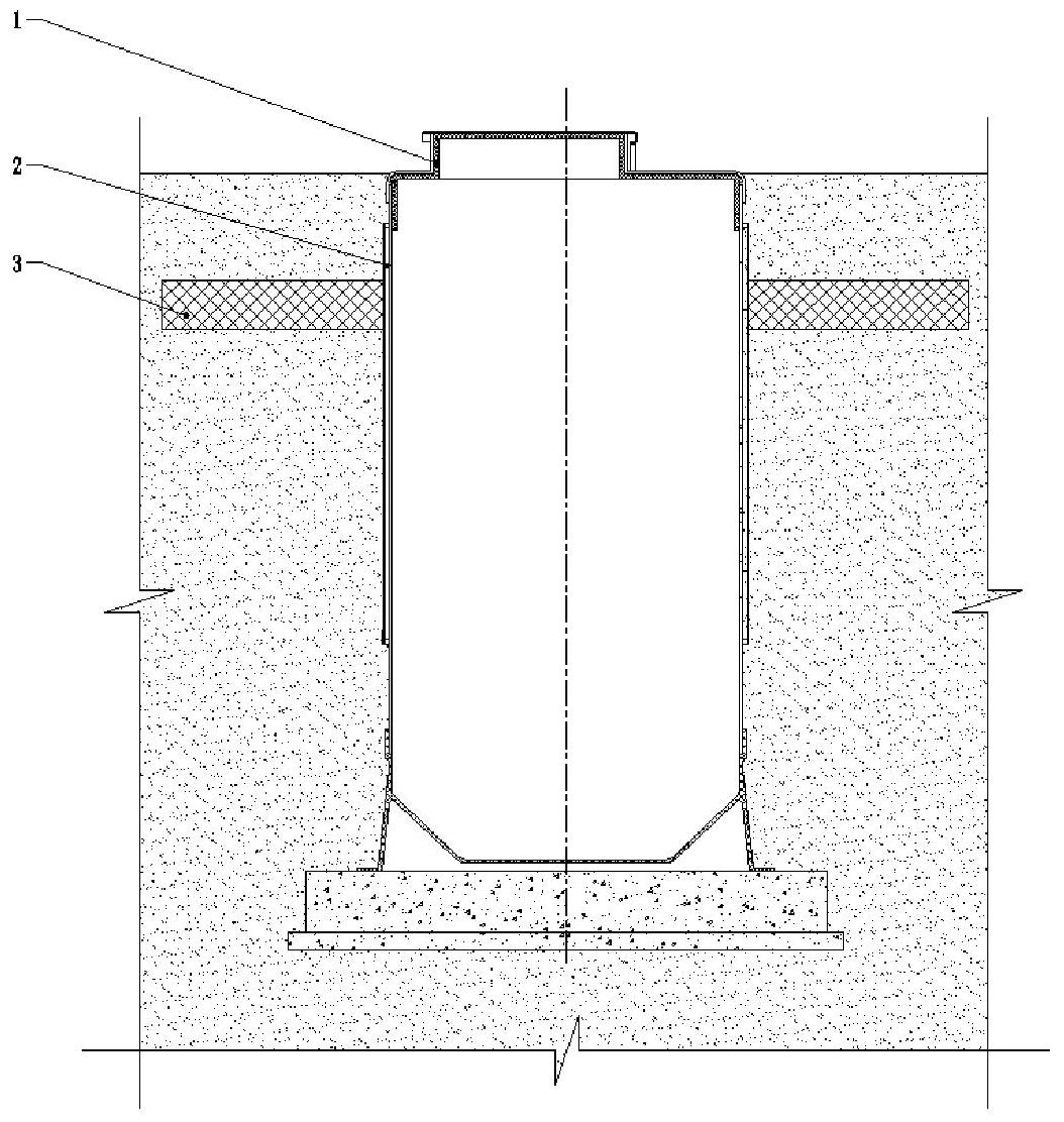
本实用新型涉及防冻隔热技术领域,提供了一种一体化雨水/污水提升泵站防冻装置,所述防冻装置包括上盖单元(1)、筒体单元(2)以及外部隔离层(3);所述筒体单元(2)由外部保温层外壳单元(8)和筒体(9)粘接而成;所述外部隔离层(3)设置在筒体单元(2)的外侧,位于冻土层和非冻土层之间并沿着水平方向向四周延伸;所述上盖单元(1)包括入孔铝合金盖(4)、入孔防护栅栏(5)以及泵站玻璃钢上盖(6);所述入孔铝合金盖(4)内侧设置有保温材料(7),所述入孔防护栅栏(5)从内部支撑所述入孔铝合金盖(4);所述泵站玻璃钢上盖(6)内侧设置有保温材料并且该保温材料延伸至所述筒体(9)内侧。


