授权公布号:CN214595680U
一种便于更换滤网的干手机
有效
申请
2020-11-18
申请公布
1970-01-01
授权
2021-11-05
预估到期
2030-11-18
| 申请号 | CN202022663876.8 |
| 申请日 | 2020-11-18 |
| 授权公布号 | CN214595680U |
| 授权公告日 | 2021-11-05 |
| 分类号 | A47K10/48 |
| 分类 | 家具;家庭用的物品或设备;咖啡磨;香料磨;一般吸尘器; |
| 申请人名称 | 上海康特环保科技发展有限公司 |
| 申请人地址 | 上海市松江区茸华路629号8幢3层313室 |
专利法律状态
2021-11-05
授权
状态信息
授权
摘要
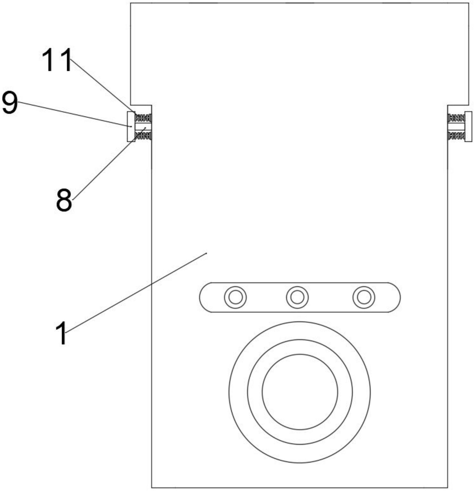
本实用新型公开了一种便于更换滤网的干手机,包括机身和滤网,滤网的四周对应固定在支撑网框上,支撑网框的左右两端框体内各对应开设有一个弹簧下压腔,下压钩臂由竖直长段臂部分和水平短段臂部分构成,竖直长段臂部分以竖直状态贯穿弹簧下压腔设置,下压钩臂的顶端端部固定设置有下压手柄,下压钩臂的底端位置处配置有一个内压钩臂,内压钩臂以水平状态对应穿设在机身的侧壁上,内压钩臂由水平长段臂部分、竖直短段臂部分和水平短钩部分构成,水平长段臂部分向外适配伸出机身的外部且在其外端端部固定设置有内压手柄。本实用新型实现了对干手机内部滤网的快速更换目的。


