授权公布号:CN215842155U
一种自带滤网防堵塞效果的车间空气吸尘设备
有效
申请
2021-07-27
申请公布
1970-01-01
授权
2022-02-18
预估到期
2031-07-27
| 申请号 | CN202121716216.X |
| 申请日 | 2021-07-27 |
| 授权公布号 | CN215842155U |
| 授权公告日 | 2022-02-18 |
| 分类号 | B01D46/10;B01D46/42;B01D46/66;B01D46/681;B08B15/00 |
| 分类 | 一般的物理或化学的方法或装置; |
| 申请人名称 | 上海康特环保科技发展有限公司 |
| 申请人地址 | 上海市松江区茸华路629号8幢3层313室 |
专利法律状态
2022-02-18
授权
状态信息
授权
摘要
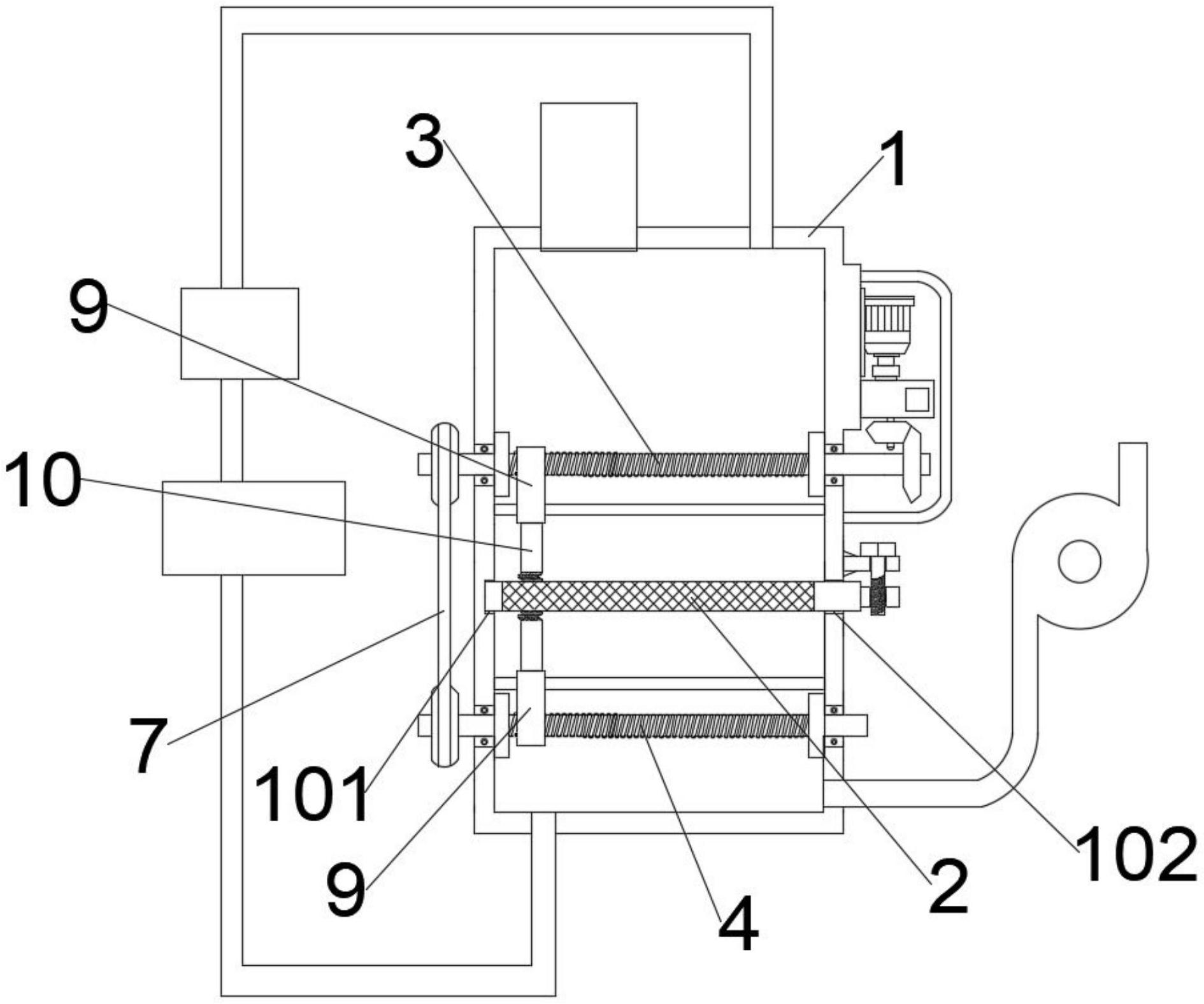
本实用新型公开了一种自带滤网防堵塞效果的车间空气吸尘设备,包括除尘机箱和过滤网板,在除尘机箱的箱腔左侧内壁上开设有用于对过滤网板的左端框板进行托放的左托插孔,在除尘机箱的箱腔右侧内壁上开设有用于将整个过滤网板穿过的右穿通孔,下传动螺杆与处在下方的导向滑杆相配合后且在两者上同样贯穿有一个行走移动块,处在上方的行走移动块与处在下方的行走移动块相对过滤网板上下对称设置,行走移动块上贯通有与上传动螺杆、下传动螺杆的外螺纹相配合的螺孔,刷头的底端刷毛贴触在过滤网板的网面上。本实用新型利用上下两侧的刷头对堵塞对过滤网板表面的粉尘颗粒进行清理,进而保证了网板的过滤效率。


