授权公布号:CN204502623U
吊顶式空气净化器
有效
申请
2015-02-08
申请公布
1970-01-01
授权
2015-07-29
预估到期
2025-02-08
| 申请号 | CN201520109170.3 |
| 申请日 | 2015-02-08 |
| 授权公布号 | CN204502623U |
| 授权公告日 | 2015-07-29 |
| 分类号 | B01D46/12;B01D46/42 |
| 分类 | 一般的物理或化学的方法或装置; |
| 申请人名称 | 上海康特环保科技发展有限公司 |
| 申请人地址 | 江苏省苏州市中国(江苏)自由贸易试验区苏州片区金鸡湖大道99号苏州纳米城中北区23幢214室 |
专利法律状态
2022-10-04
文件的公告送达
状态信息
文件的公告送达;IPC(主分类):B01D 46/12;专利号:ZL2015201091703;专利申请号:2015201091703;收件人:上海康特环保科技发展有限公司专利负责人;文件名称:手续合格通知书
2022-09-02
专利申请权、专利权的转移
状态信息
专利权的转移;IPC(主分类):B01D46/12;登记生效日:20220823;变更事项:专利权人;变更前:上海康特环保科技发展有限公司;变更后:康特(苏州)能源环境设备有限公司;变更事项:地址;变更前:201206 上海市松江区车墩镇南乐路288号10幢二楼B220室;变更后:215000 江苏省苏州市中国(江苏)自由贸易试验区苏州片区金鸡湖大道99号苏州纳米城中北区23幢214室
2016-05-04
文件的公告送达
状态信息
文件的公告送达;IPC(主分类):B01D 46/12;收件人:上海康特环保科技发展有限公司;文件名称:缴费通知书
2015-07-29
实用新型专利权授予
状态信息
授权
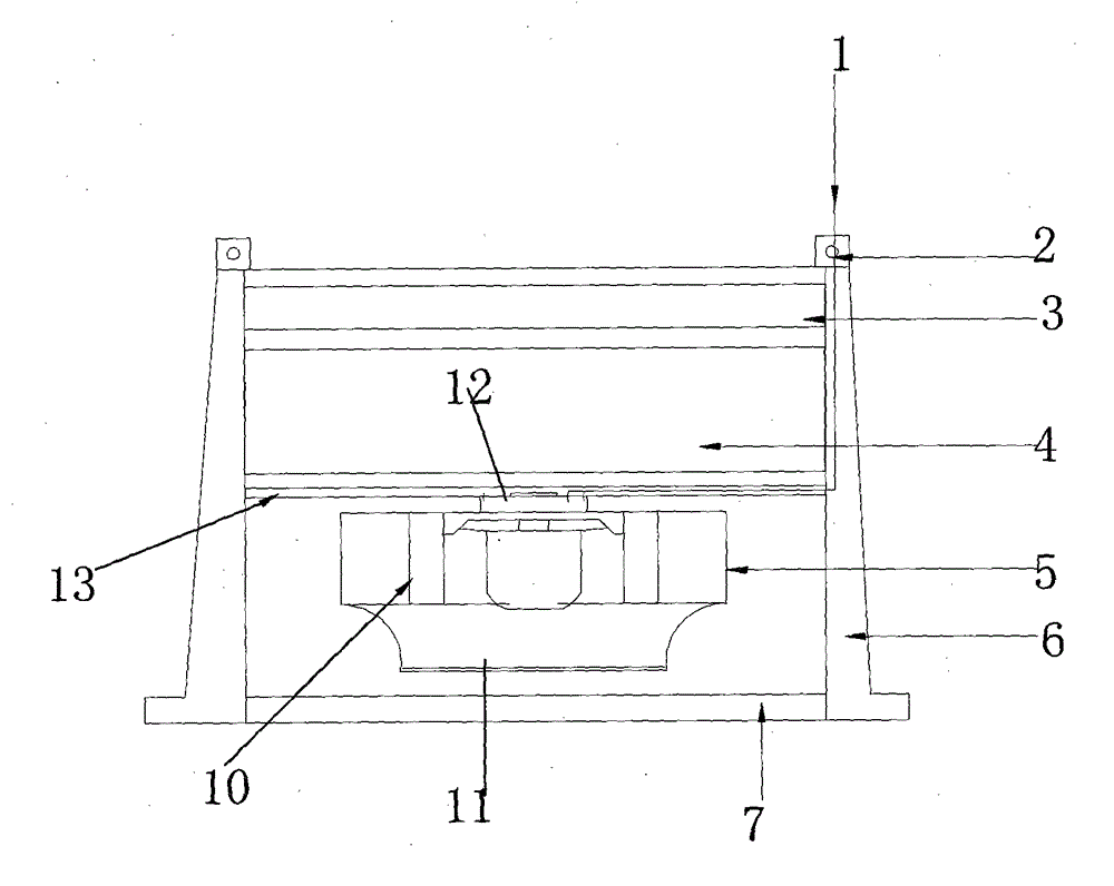
摘要
本实用新型公开了一种吊顶式空气净化器,其包括固定吊孔、第一滤网、第二滤网、风机、侧部、底部、消音海绵,固定吊孔位于侧部的顶端,第一滤网、第二滤网、消音海绵、风机都位于两个侧部内,第二滤网位于第一滤网和消音海绵之间,风机穿过消音海绵后与第二滤网固定,侧部上设有回风孔,底部上设有出风口,底部与侧部的底端固定。本实用新型吊顶式空气净化器不占用使用面积,去除噪音。


