授权公布号:CN215863907U
一种便于更换过滤网的空气净化器
有效
申请
2021-07-27
申请公布
1970-01-01
授权
2022-02-18
预估到期
2031-07-27
| 申请号 | CN202121714825.1 |
| 申请日 | 2021-07-27 |
| 授权公布号 | CN215863907U |
| 授权公告日 | 2022-02-18 |
| 分类号 | F24F8/108;F24F13/28;F24F13/20 |
| 分类 | 供热;炉灶;通风; |
| 申请人名称 | 上海康特环保科技发展有限公司 |
| 申请人地址 | 上海市松江区茸华路629号8幢3层313室 |
专利法律状态
2022-02-18
授权
状态信息
授权
摘要
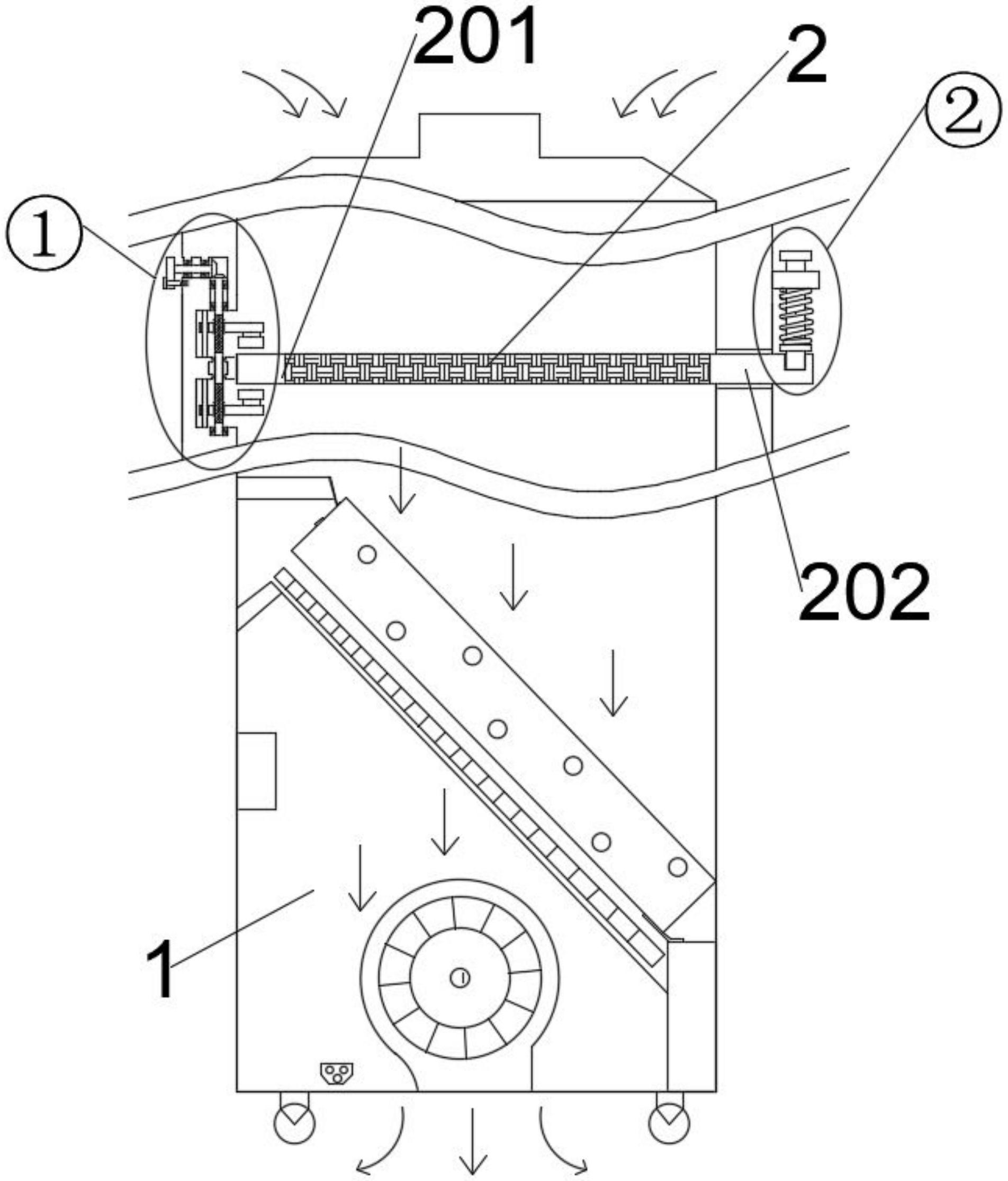
本实用新型公开了一种便于更换过滤网的空气净化器,包括净化机箱、过滤网、左支撑网框和右支撑网框,在过滤网的同一水平面上、对应净化机箱的左侧箱壁内通过若干个轴承呈竖直转动状态设置有双向螺纹杆,在顺时针旋向螺纹部分和逆时针旋向螺纹部分的上下对称位置上各以螺纹配合形式套装一个内螺纹移动套,过滤网的左支撑网框处在上下两个夹头之间,过滤网的右支撑网框适配穿过净化机箱的右侧箱壁后伸出箱体外侧且在右支撑网框的上侧壁右端位置处开设有定位锁孔,定位锁杆的底端竖直向下插入定位锁孔中。本实用新型顺利解决了现有技术中存在的过滤网不能拆卸更换的问题,进而保证了过滤网的洁净高效性。


