授权公布号:CN208779587U
一种移动式空气净化装置
有效
申请
2018-08-10
申请公布
1970-01-01
授权
2019-04-23
预估到期
2028-08-10
| 申请号 | CN201821287496.5 |
| 申请日 | 2018-08-10 |
| 授权公布号 | CN208779587U |
| 授权公告日 | 2019-04-23 |
| 分类号 | F24F3/16;F24F13/20;F24F13/28;F24F13/00;F24F13/32 |
| 分类 | 供热;炉灶;通风; |
| 申请人名称 | 上海康特环保科技发展有限公司 |
| 申请人地址 | 上海市松江区茸华路629号8幢3层313室 |
专利法律状态
2019-04-23
授权
状态信息
授权
摘要
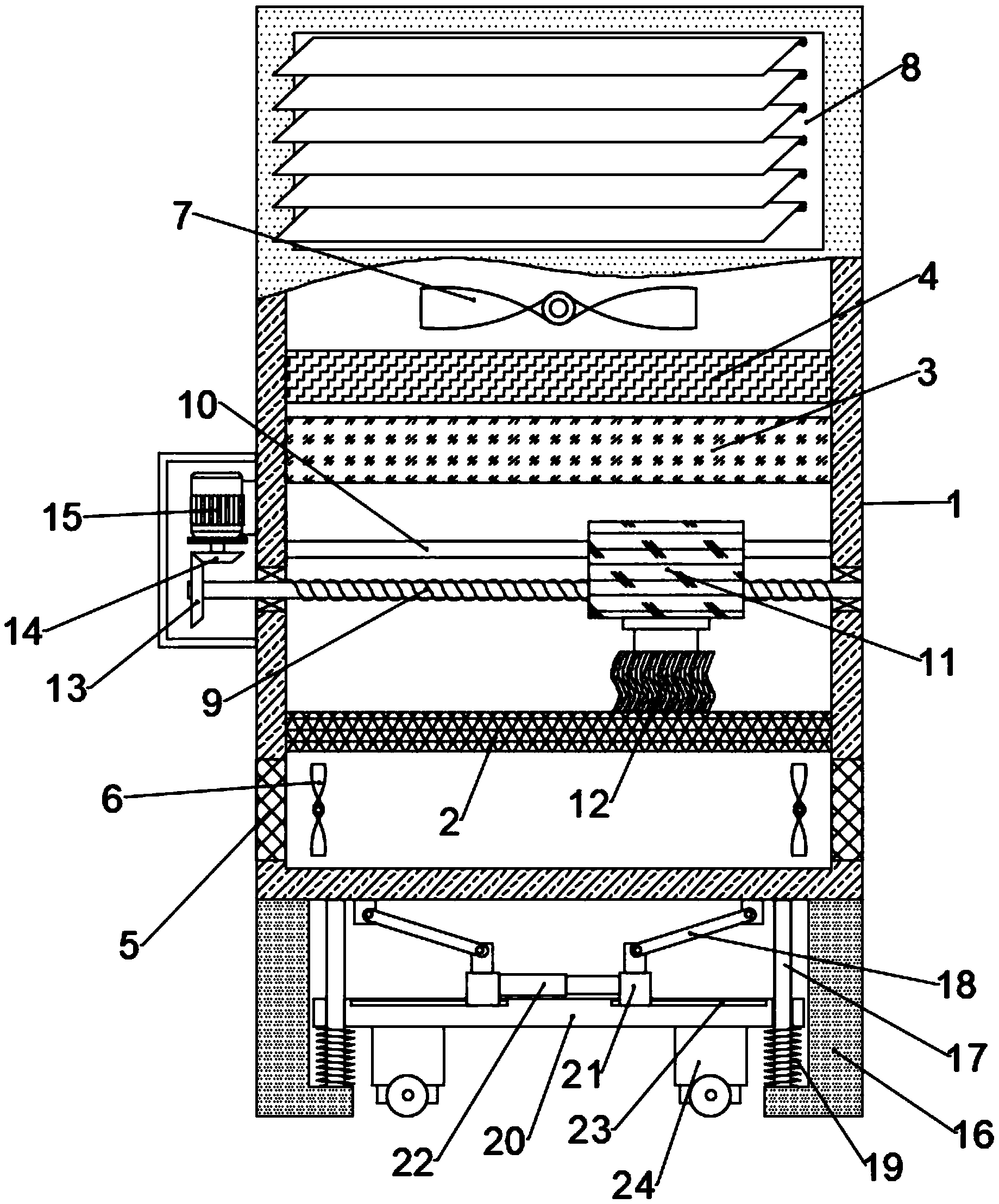
本实用新型公开了一种移动式空气净化装置,包括处理机壳,在处理机壳的底部左右内壁面之间呈水平状态设置有蜂窝活性炭活滤网层,扫刷头适配贴合在蜂窝活性炭活滤网层的网面上,在水平导向滑杆的上方、对应处理机壳的上部左右内壁面之间呈水平状态设置有活氧杀菌层和负离子发生层,处理机壳的底部四角处还分别固定有一个L形支腿,左侧的导向滑块与右侧的导向滑块之间通过呈水平状态设置的电动伸缩杆连接在一起,支撑滑座的底端对应安装有万向滚轮。本实用新型能始终保持蜂窝活性炭活滤网层的高效性能,并且能同时实现快速移动以及快速定位的双重目的,尤其适应体型较大的空气净化器使用。


