授权公布号:CN204513632U
智能中央空气净化机
有效
申请
2015-02-08
申请公布
1970-01-01
授权
2015-07-29
预估到期
2025-02-08
| 申请号 | CN201520109169.0 |
| 申请日 | 2015-02-08 |
| 授权公布号 | CN204513632U |
| 授权公告日 | 2015-07-29 |
| 分类号 | F24F3/16;F24F13/28;F24F11/02 |
| 分类 | 供热;炉灶;通风; |
| 申请人名称 | 上海康特环保科技发展有限公司 |
| 申请人地址 | 上海市松江区车墩镇南乐路288号10幢二楼B220室 |
专利法律状态
2016-04-27
文件的公告送达
状态信息
文件的公告送达IPC(主分类):F24F 3/16收件人:上海康特环保科技发展有限公司文件名称:缴费通知书
2015-07-29
授权
状态信息
授权
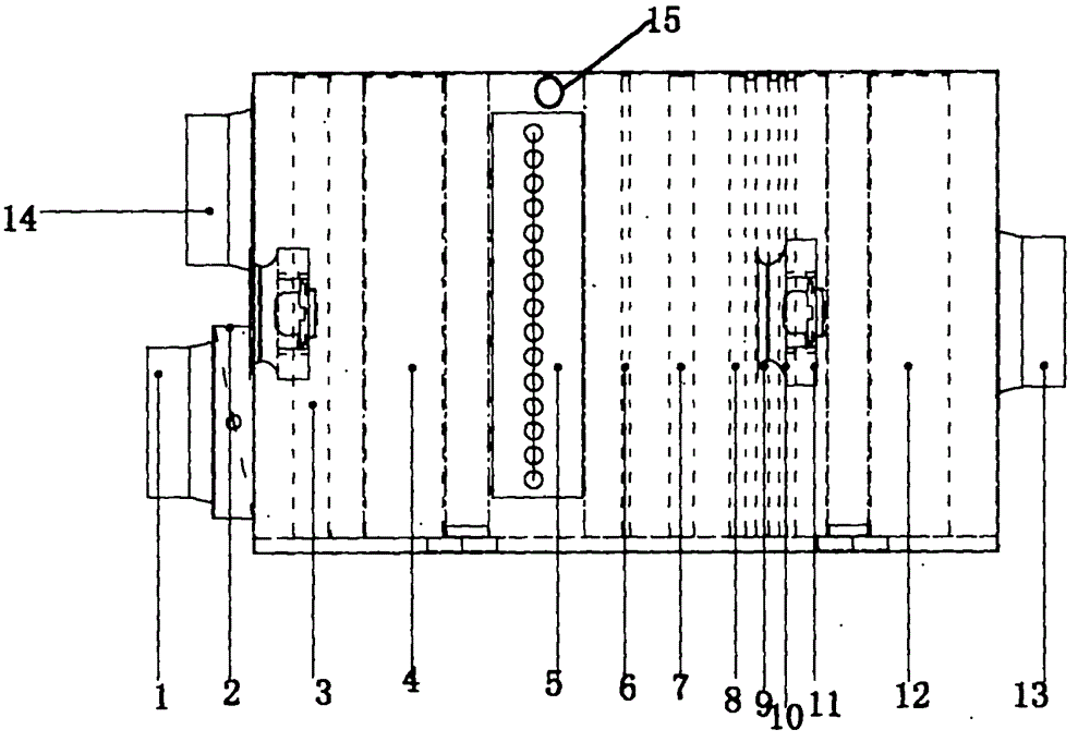
摘要
本实用新型公开了一种智能中央空气净化机,其包括新风进风口等元件,新风进风口位于风阀的一侧,初效过滤器位于风阀的另一侧,第一送风电机位于初效过滤器和离子化空气净化发生器之间,中效过滤器位于离子化空气净化发生器和蜂窝活性炭过滤网之间,蜂窝活性炭过滤网位于中效过滤器和冷触媒滤网之间,冷触媒滤网位于蜂窝活性炭过滤网和蜂窝除甲醛过滤网之间,蜂窝除甲醛过滤网位于冷触媒滤网和蜂窝除臭氧过滤网之间,蜂窝除臭氧过滤网位于蜂窝除甲醛过滤网和高效过滤网之间,高效过滤网位于蜂窝除臭氧过滤网和第二送风电机之间。本实用新型把室外和室内的污渍空气全部集中净化后再输送到每个房间,实现了全屋空气净化。


