授权公布号:CN215024198U
一种脚踏式酒精喷雾式手部消毒器
有效
申请
2020-11-18
申请公布
1970-01-01
授权
2021-12-07
预估到期
2030-11-18
| 申请号 | CN202022663779.9 |
| 申请日 | 2020-11-18 |
| 授权公布号 | CN215024198U |
| 授权公告日 | 2021-12-07 |
| 分类号 | A61M11/00;A61M35/00;A61B90/80 |
| 分类 | 医学或兽医学;卫生学; |
| 申请人名称 | 上海康特环保科技发展有限公司 |
| 申请人地址 | 上海市松江区茸华路629号8幢3层313室 |
专利法律状态
2021-12-07
授权
状态信息
授权
摘要
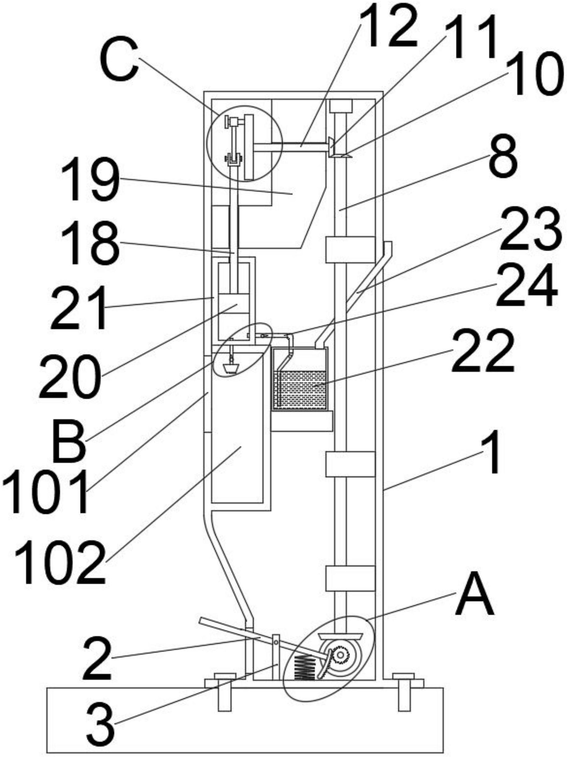
本实用新型公开了一种脚踏式酒精喷雾式手部消毒器,包括设备机壳,设备机壳的左侧中部位置处向内一体形成有手部消毒空间,手部消毒空间处自带有手部伸入口,设备机壳的壳腔底部配置有一个脚踏摆杆且脚踏摆杆的中部位置对应转动铰接在支撑臂的顶端,在传动齿轮的后侧同轴心固定安装有一个大号主动锥形齿轮,小号从动锥形齿轮同轴心固定安装在辅助转轴的右端端部,辅助转轴的左端端部固定有圆形转盘,在负压推液筒的底部筒腔中还适配伸入有一个出液导管,出液导管的底端向下适配伸入手部消毒空间中且在其端部安装有雾化喷头。本实用新型实现了手部消毒器以脚踏方式进行酒精喷雾消毒的目的。


