授权公布号:CN208779586U
一种吸烟区的空气净化装置
有效
申请
2018-08-09
申请公布
1970-01-01
授权
2019-04-23
预估到期
2028-08-09
| 申请号 | CN201821275591.3 |
| 申请日 | 2018-08-09 |
| 授权公布号 | CN208779586U |
| 授权公告日 | 2019-04-23 |
| 分类号 | F24F3/16;F24F13/28 |
| 分类 | 供热;炉灶;通风; |
| 申请人名称 | 上海康特环保科技发展有限公司 |
| 申请人地址 | 上海市松江区茸华路629号8幢3层313室 |
专利法律状态
2019-04-23
授权
状态信息
授权
摘要
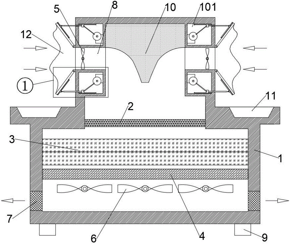
本实用新型公开了一种吸烟区的空气净化装置,包括机体外壳,在处理机壳的中部左右内壁面之间从上到下呈水平状态依次设置有预过滤网层、蜂窝式高压静电网层和脱臭过滤网层,在机体外壳的壳腔顶部四角位置上各隔断出一个动力供给室,动力传动杆的一端可转动铰接在圆形转盘的圆周边盘面上,动力传动杆的另一端可转动铰接在导向滑块上,摆动转门板的端部通过一号铰接座固定在机体外壳的外侧壁上,在预过滤网层的左右两端外侧、对应机体外壳的壳体上还设置有烟蒂收集槽。本实用新型能根据不同浓度的吸烟区域进行对应变动,相比于传统的吸气范围不可调节的进气结构其实用性更强,更具有针对性,净化效果优异。


