授权公布号:CN215466930U
一种车间空气净化处理设备
有效
申请
2021-07-27
申请公布
1970-01-01
授权
2022-01-11
预估到期
2031-07-27
| 申请号 | CN202121716238.6 |
| 申请日 | 2021-07-27 |
| 授权公布号 | CN215466930U |
| 授权公告日 | 2022-01-11 |
| 分类号 | B08B15/02 |
| 分类 | 清洁; |
| 申请人名称 | 上海康特环保科技发展有限公司 |
| 申请人地址 | 上海市松江区茸华路629号8幢3层313室 |
专利法律状态
2022-01-11
授权
状态信息
授权
摘要
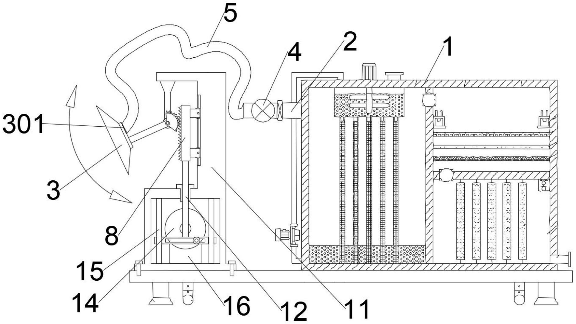
本实用新型公开了一种车间空气净化处理设备,包括净化装置箱体、抽气导管、抽气罩和抽气风机,所述抽气罩的吸收端口对接在活动软管的端头部,在支撑托架的底部架体内安装有转动圆盘,在转动圆盘的盘面圆周边缘位置处固定有一个圆柱柱体,圆柱柱体适配贯穿升降推行框中开设的条状限位穿孔设置,所述往复推臂通过臂套呈竖直状态向上适配伸出支撑托架后且其顶端固连至传动齿条的底端,传动摆臂体由摆动臂杆和扇叶齿轮一体构成,摆动臂杆与扇叶齿轮相接处通过支座呈转动状态安装在支撑托架上。本实用新型顺利扩展了整个净化装置的处理范围,相比于现有技术其净化范围大,车间空气处理量大。


