授权公布号:CN218827952U
一种铜棒结构及充电座
有效
申请
2022-12-06
申请公布
1970-01-01
授权
2023-04-07
预估到期
2032-12-06
| 申请号 | CN202223270879.0 |
| 申请日 | 2022-12-06 |
| 授权公布号 | CN218827952U |
| 授权公告日 | 2023-04-07 |
| 分类号 | H01R13/02;H01R13/40 |
| 分类 | 基本电气元件; |
| 申请人名称 | 宁波爱佳电器有限公司 |
| 申请人地址 | 浙江省宁波市慈溪市周巷镇开发东路555号 |
专利法律状态
2023-04-07
授权
状态信息
授权
摘要
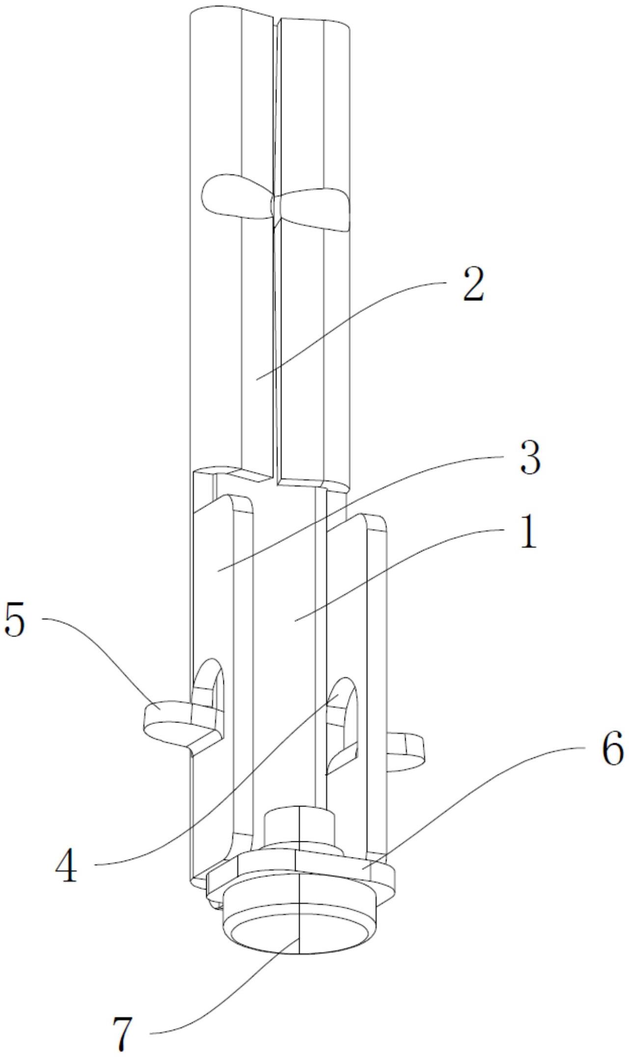
本实用新型所公开的一种铜棒结构及充电座,其中,铜棒结构,包括由镀锌板折弯形成的导电棒主体,导电棒主体包括基板,基板的一端为插头端,插头端的两侧均延伸有连接板,两个连接板向内折弯,基板的另一端为限位端,限位端的两侧均延伸有限位板,两个限位板相对折弯,限位板设置有冲孔部、以及设置于冲孔部的内孔边缘处并向外折弯的限位勾板;充电座,包括底座主体,底座主体包括底座壳、设置于底座壳内的插座组件和电源线,插座组件内设置有如上所述的铜棒结构,导电棒主体有镀锌板折弯形成,加工方便,片状镀锌板降低生产成本,且工作人员组装充电座是可利用限位勾板调整弹簧件对导电棒主体的弹簧阻力。


