授权公布号:CN216698836U
一种可适应圆插的扁插插座
有效
申请
2021-12-11
申请公布
1970-01-01
授权
2022-06-07
预估到期
2031-12-11
| 申请号 | CN202123102322.1 |
| 申请日 | 2021-12-11 |
| 授权公布号 | CN216698836U |
| 授权公告日 | 2022-06-07 |
| 分类号 | H01R13/502 |
| 分类 | 基本电气元件; |
| 申请人名称 | 广东俊朗松田电器有限公司 |
| 申请人地址 | 广东省佛山市顺德区勒流镇龙升南路 |
专利法律状态
2022-06-07
授权
状态信息
授权
摘要
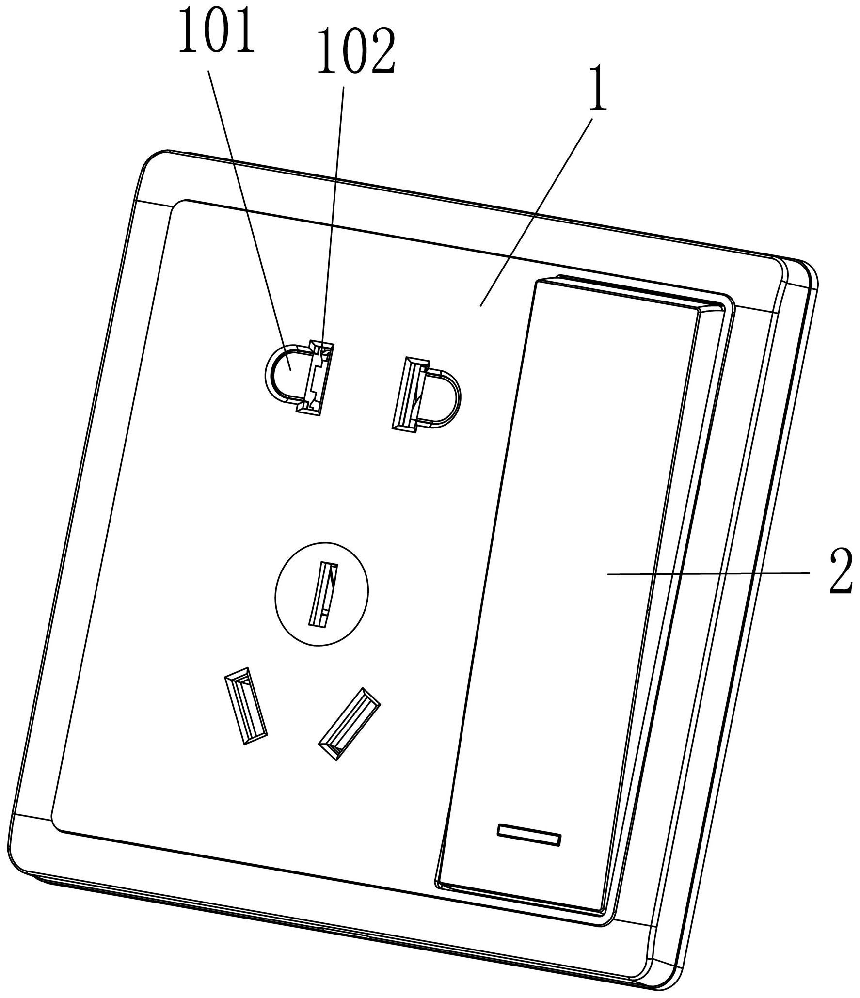
本实用新型具体涉及一种可适应圆插的扁插插座,包括面板和底板,面板安装于底板的前表面,面板的前表面设有第一圆插口和第一扁插口,第一圆插口和第一扁插口相连通,底板的前表面设有第二扁插口和第二圆插口,第二扁插口和第二圆插口相连通,第一圆插口和第一扁插口分别与第二扁插口和第二圆插口相对应,第一圆插口或第二圆插口内设有用于遮挡第一圆插口或第二圆插口的遮挡凸部。本实用新型的有益效果通过第一圆插口或第二圆插口内设有用于遮挡第一圆插口或第二圆插口的遮挡凸部,起到符合新国标规定,也可以根据实际需求,拆卸遮挡凸部而适配圆柱插头,起到使用方便优点。


