授权公布号:CN217559780U
雷达感应智能触摸开关
有效
申请
2022-05-21
申请公布
1970-01-01
授权
2022-10-11
预估到期
2032-05-21
| 申请号 | CN202221225678.6 |
| 申请日 | 2022-05-21 |
| 授权公布号 | CN217559780U |
| 授权公告日 | 2022-10-11 |
| 分类号 | F21V23/04;H05B47/115;H05B47/19 |
| 分类 | 照明; |
| 申请人名称 | 泰力实业有限公司 |
| 申请人地址 | 浙江省温州市高新技术产业园区炬光园北路1号 |
专利法律状态
2022-10-11
授权
状态信息
授权
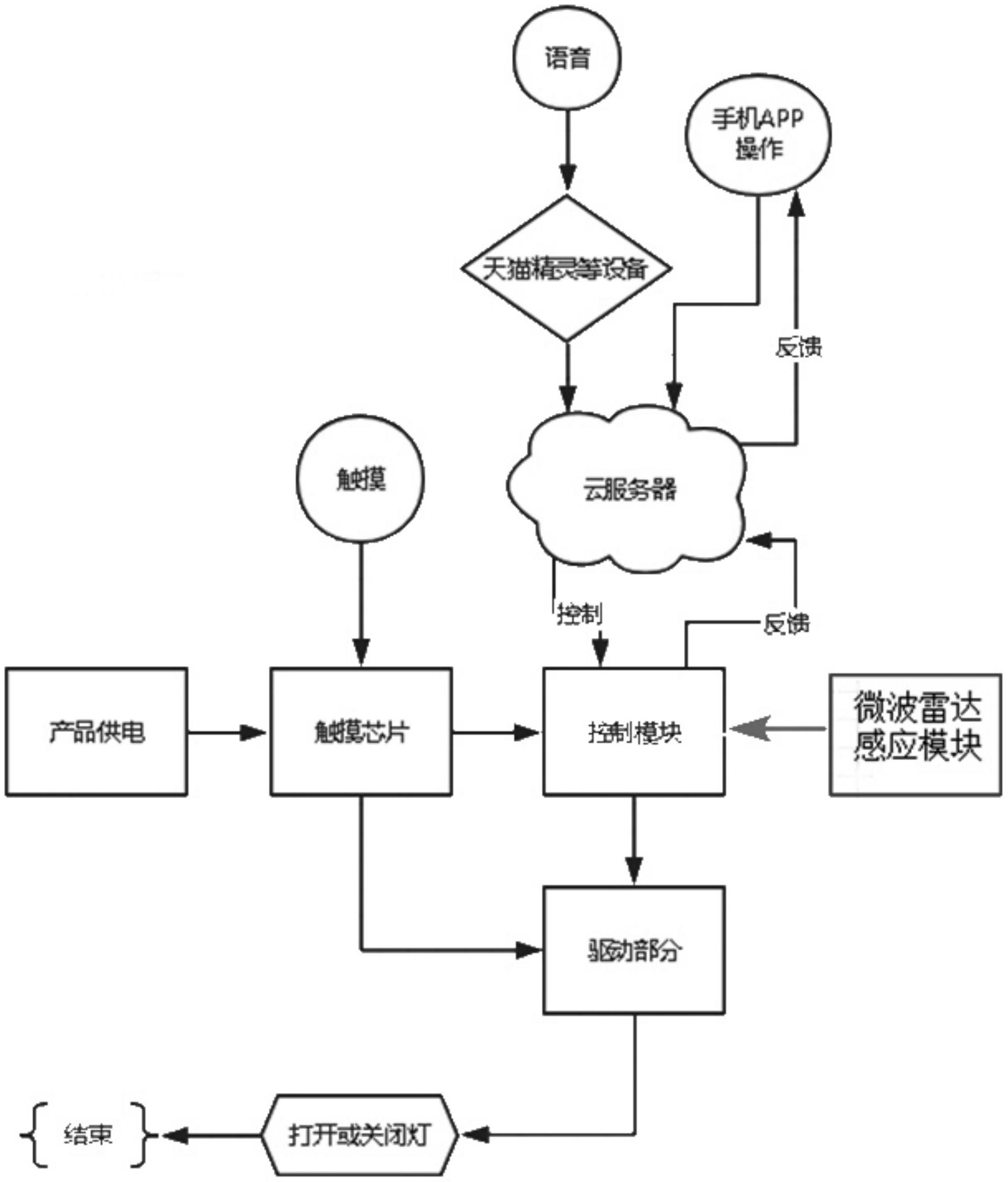
摘要
本实用新型涉及雷达感应智能触摸开关,包括开关本体以及开关控制单元,开关控制单元包括有触摸芯片、控制模块以及驱动部分,其特征在于:开关本体包括有开关面板,开关面板上设有指示灯,开关控制单元还包括有微波雷达感应模块,其检测到人体,输出高电平信号给控制模块,控制模块传递指令通过驱动部分点亮开关面板的指示灯。本方案实现开关更智能化、更亲眯用户、更贴近家居生活所需要。


