授权公布号:CN214673114U
一种一转多转换器
有效
申请
2021-04-13
申请公布
1970-01-01
授权
2021-11-09
预估到期
2031-04-13
| 申请号 | CN202120755672.9 |
| 申请日 | 2021-04-13 |
| 授权公布号 | CN214673114U |
| 授权公告日 | 2021-11-09 |
| 分类号 | H01R13/502;H01R13/40;H01R25/00;H01R31/06 |
| 分类 | 基本电气元件; |
| 申请人名称 | 慈溪市清风电子有限公司 |
| 申请人地址 | 浙江省宁波市慈溪市观海卫工业东区 |
专利法律状态
2021-11-09
授权
状态信息
授权
摘要
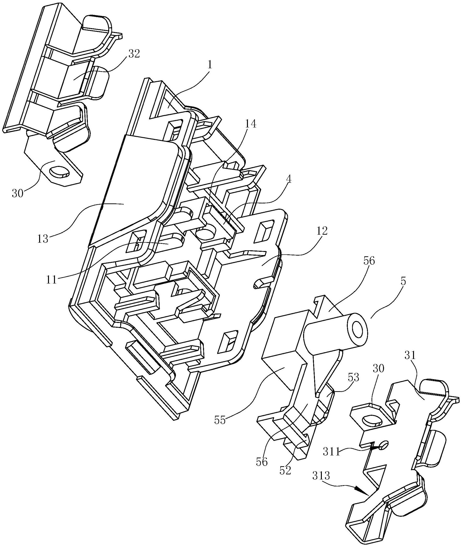
本实用新型涉及一种一转多转换器,包括底板(1)、与底板(1)盖合连接的上盖(2)、设置在底板(1)与上盖(2)之间的至少两个铜片、穿过底板(1)伸入上盖(2)内并与对应的铜片分别连接的插脚(4)以及设置在铜片之间的绝缘支架(5),所述绝缘支架(5)通过与底板(1)和上盖(2)的配合将至少两个铜片及插脚(4)进行固定。相对于现有技术,本实用新型提高了生产效率和装配牢固度,节约了成本。


