授权公布号:CN212062725U
一种开关插座的接线装置
有效
申请
2019-12-31
申请公布
1970-01-01
授权
2020-12-01
预估到期
2029-12-31
| 申请号 | CN201922475039.X |
| 申请日 | 2019-12-31 |
| 授权公布号 | CN212062725U |
| 授权公告日 | 2020-12-01 |
| 分类号 | H01R9/24 |
| 分类 | 基本电气元件; |
| 申请人名称 | 广东福田电器有限公司 |
| 申请人地址 | 广东省佛山市顺德区勒流街道办事处光大居委会勒流港集约工业开发区二期C06-1号地块 |
专利法律状态
2020-12-01
授权
状态信息
授权
摘要
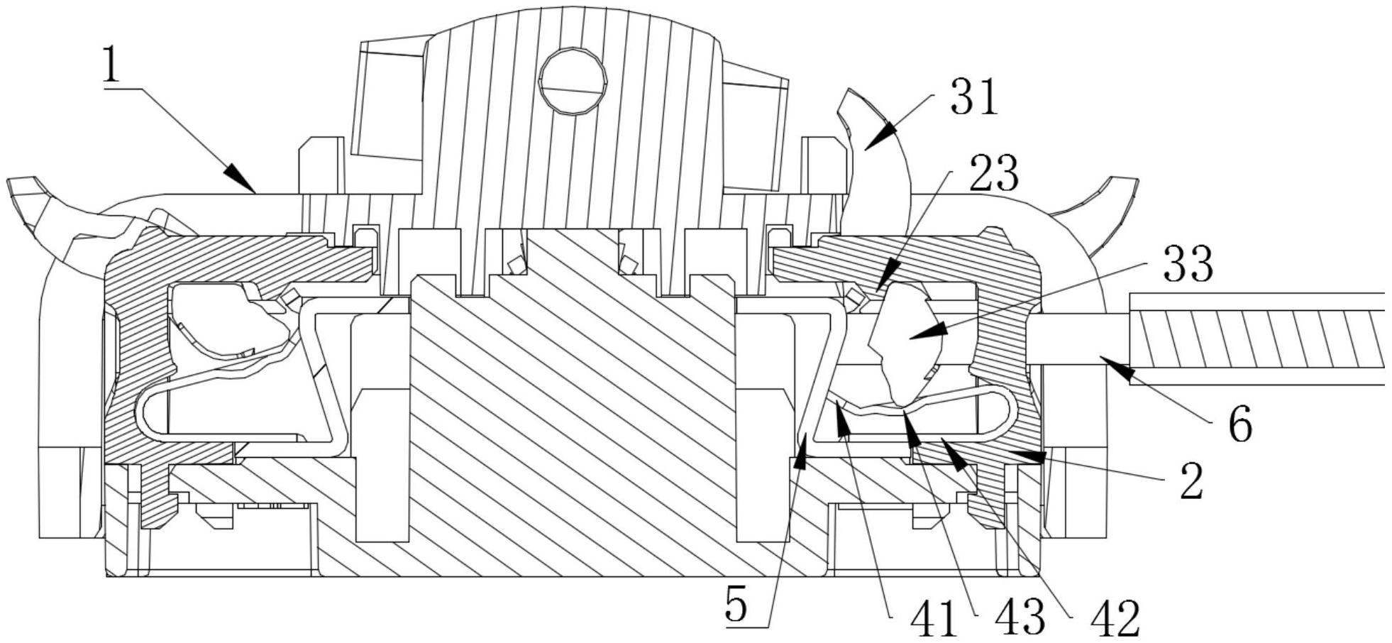
本实用新型公开了一种开关插座的接线装置,包括:底座,设有多个定位件,每个定位件内设有至少一个用于容纳导线的腔体;并在腔体下方的底座内设有引电板;接线端子,设在腔体与所述引电板之间的间隙中;接线端子包括与引电板相接触的弹性件和用于压紧导线的接触部,弹性件的上端部往斜向上方向延伸形成接触部,弹性件的两侧边沿处向下凹陷形成槽体;装卸把手,包括操作端和抵持端,操作端的两侧边上均设有与槽体相对应的抵持端,操作端的底部与定位件相铰接;所述操作端带动所述抵持端旋转至最低点时,所述抵持端抵持所述槽体使所述弹性件弹性变形,进而使所述接触部与所述导线分离。本实用新型使导线可无阻力进出开关插座,实现快速接线效果。


