授权公布号:CN212257707U
一种暗装杠杆式快速接线插座
有效
申请
2020-04-23
申请公布
1970-01-01
授权
2020-12-29
预估到期
2030-04-23
| 申请号 | CN202020624823.2 |
| 申请日 | 2020-04-23 |
| 授权公布号 | CN212257707U |
| 授权公告日 | 2020-12-29 |
| 分类号 | H01R4/48;H01R13/58;H01R13/502 |
| 分类 | 基本电气元件; |
| 申请人名称 | 广东福田电器有限公司 |
| 申请人地址 | 广东省佛山市顺德区勒流街道办事处光大居委会勒流港集约工业开发区二期C06-1号地块 |
专利法律状态
2023-09-08
专利实施许可合同备案的生效、变更及注销
状态信息
专利实施许可合同备案的生效;IPC(主分类):H01R4/48;专利申请号:2020206248232;专利号:ZL2020206248232;合同备案号:X2023980040167;让与人:广东福田电器有限公司;受让人:佛山市顺德区勒流升信塑料五金厂;实用新型名称:一种暗装杠杆式快速接线插座;申请日:20200423;授权公告日:20201229;许可种类:普通许可;备案日期:20230823
2020-12-29
授权
状态信息
授权
摘要
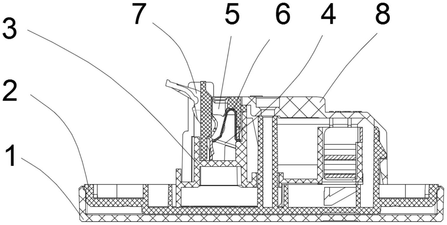
一种暗装杠杆式快速接线插座,涉及电学领域;包括依次连接的面板、中框、压板和后芯,所述后芯内部设有接线腔体,所述接线腔体内设有安装结构和导电结构,所述导电结构与插孔电连接;所述安装结构包括接线孔压板、做旋转运动的驱动手柄和弹性件,所述接线孔压板设有内部设有接线孔,所述接线孔与弹性件对应,所述弹性件的一端与所述压板固定连接,所述弹性件的另一端与驱动手柄抵接;当所述驱动手柄旋转时,所述弹性件压缩运动;当所述驱动手柄反方旋转时,所述弹性件复位运动。本实用新型的插座结构稳定,操作简单;通过控制驱动手柄旋转,使弹性件压缩并腾出容纳导线的接线空间,反向旋转驱动手柄,使弹性件复位并固定导线,从而实现快速接线。


