授权公布号:CN109742575B
一种方形插座
有效
申请
2019-01-17
申请公布
2019-05-10
授权
2024-02-27
预估到期
2039-01-17
| 申请号 | CN201910044071.4 |
| 申请日 | 2019-01-17 |
| 申请公布号 | CN109742575A |
| 申请公布日 | 2019-05-10 |
| 授权公布号 | CN109742575B |
| 授权公告日 | 2024-02-27 |
| 分类号 | H01R13/10;H01R13/42;H01R13/502;H01R13/648;H01R27/00 |
| 分类 | 基本电气元件; |
| 申请人名称 | 深圳市航嘉驰源电气股份有限公司 |
| 申请人地址 | 广东省深圳市龙岗区坂田街道雪象村航嘉工业园 |
专利法律状态
2024-02-27
授权
状态信息
授权
2019-06-04
实质审查的生效
状态信息
实质审查的生效;IPC(主分类):H01R13/10;申请日:20190117
2019-05-10
公布
状态信息
公布
摘要
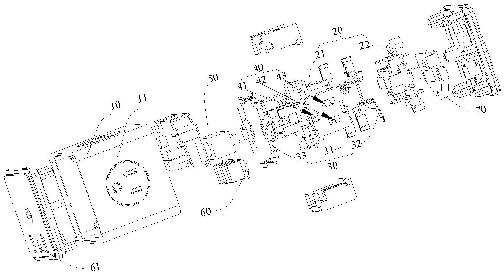
本发明适用于插座技术领域,提供了一种方形插座,包括:插座壳体、内架、金属片组件,插座壳体包括于所述内架周侧设置的多个插孔面,金属片组件包括装配于所述内架中的火线金属片、零线金属片和地线金属片,火线金属片、零线金属片、地线金属片均一体成型,在每个插孔面上,地线金属片与所述火线金属片、零线金属片组合后都形成一个三脚插孔,每个三脚插孔的地线插孔在上,火线插孔和零线插孔在下,火线和零线插孔中心的连线与插座底面平行,通过将各金属片一体成型,避免了多个金属片碰焊、锡焊、铆接的连接方式,增强了金属片的结构稳定性,提高了使用安全性。


