授权公布号:CN109962202B
具有导电基板的可充电电池
有效
申请
2019-03-15
申请公布
2019-07-02
授权
2024-03-05
预估到期
2039-03-15
| 申请号 | CN201910197839.1 |
| 申请日 | 2019-03-15 |
| 申请公布号 | CN109962202A |
| 申请公布日 | 2019-07-02 |
| 授权公布号 | CN109962202B |
| 授权公告日 | 2024-03-05 |
| 分类号 | H01M50/528;H01M50/559;H01R11/03;H01R11/01;H01R12/51;H01R4/02 |
| 分类 | 基本电气元件; |
| 申请人名称 | 福建南平南孚电池有限公司 |
| 申请人地址 | 福建省南平市延平区工业路109号 |
专利法律状态
2024-03-05
授权
状态信息
授权
2019-07-26
实质审查的生效
状态信息
实质审查的生效;IPC(主分类):H01M2/22;申请日:20190315
2019-07-02
公布
状态信息
公布
摘要
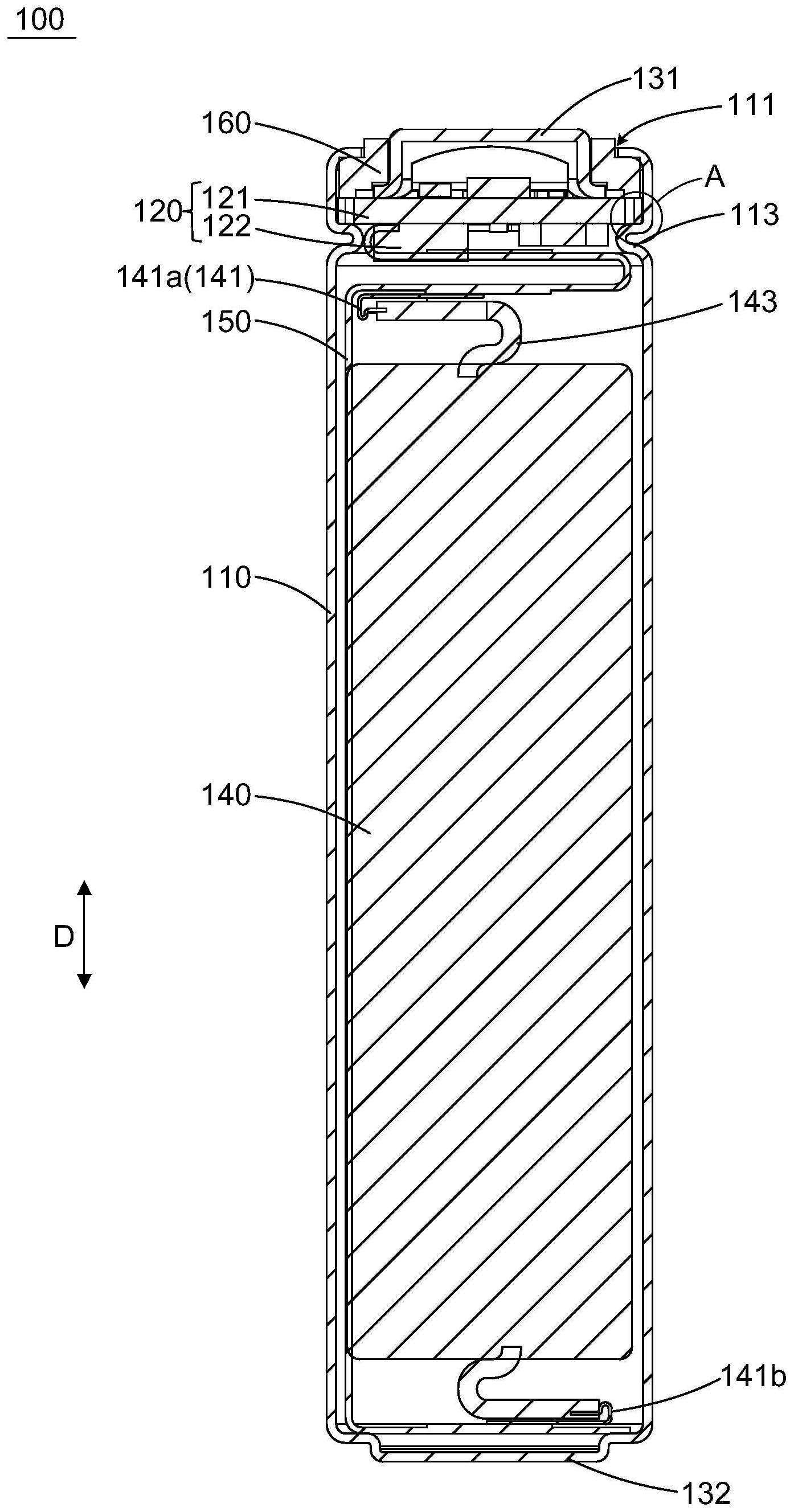
本发明提供了一种具有导电基板的可充电电池,其包括壳体、电路板组件、电芯和导电基板,壳体沿第一方向延伸;电路板组件设置在壳体内;电芯设置在壳体内,电芯的极性相反的两个电极设置在沿第一方向的两端;导电基板沿第一方向延伸并设置在壳体和电芯之间,其中,电芯的两个电极均通过导电基板与电路板组件的两个电极一一对应连接。本发明提供的可充电电池,通过设置导电基板,可以提高导电基板与电路板组件之间的连接强度,使得电芯和电路板组件之间的连接更为牢靠。


