授权公布号:CN219085850U
一种插座面板
有效
申请
2022-03-04
申请公布
1970-01-01
授权
2023-05-26
预估到期
2032-03-04
| 申请号 | CN202220470821.1 |
| 申请日 | 2022-03-04 |
| 授权公布号 | CN219085850U |
| 授权公告日 | 2023-05-26 |
| 分类号 | H01H13/02;H01H13/14 |
| 分类 | 基本电气元件; |
| 申请人名称 | 杭州鸿雁电器有限公司 |
| 申请人地址 | 浙江省杭州市西湖区天目山路248号华鸿大厦 |
专利法律状态
2023-05-26
授权
状态信息
授权
摘要
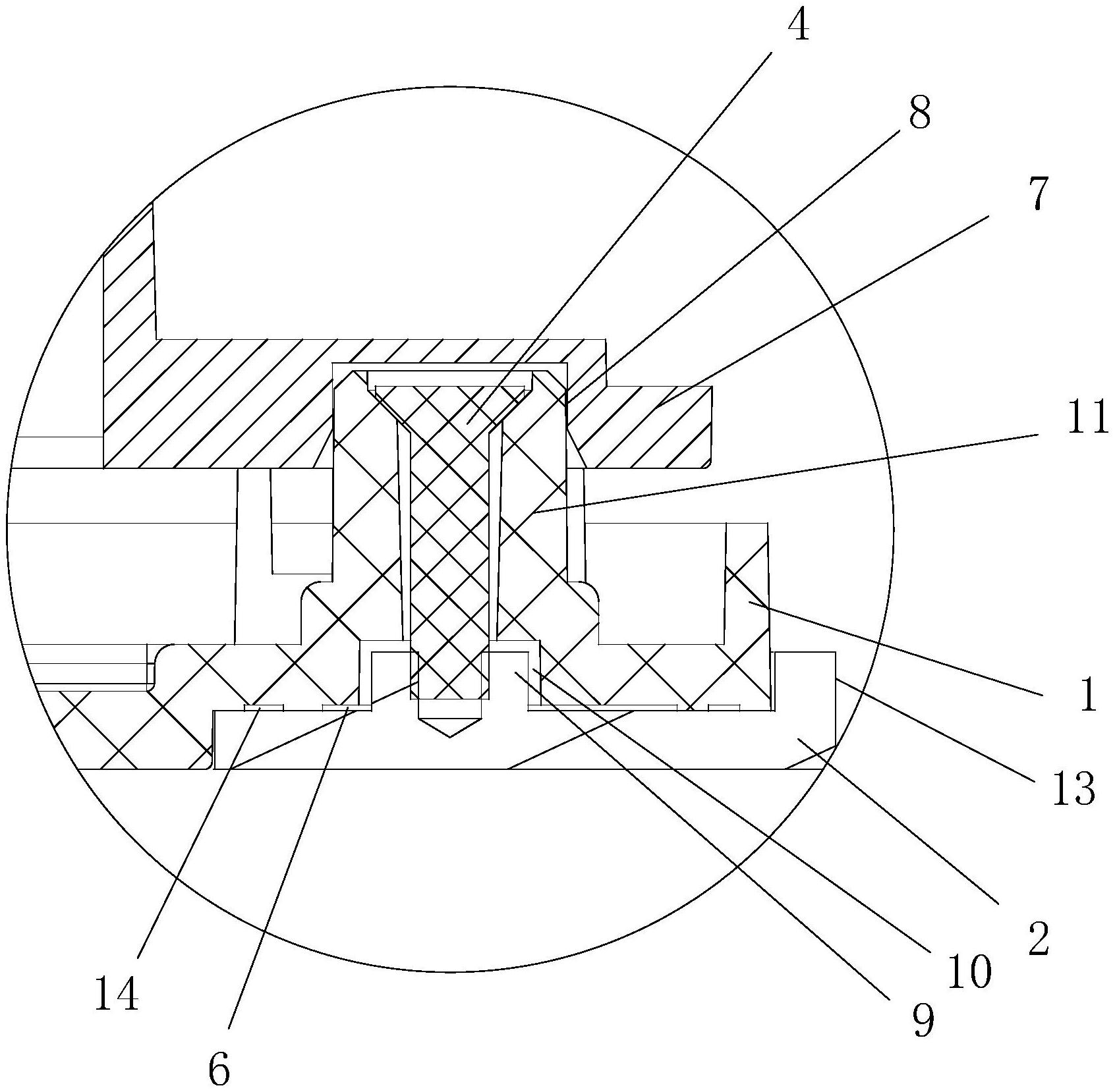
本实用新型公开了一种插座面板,包括支架、塑料面板和金属外框,塑料面板位于金属外框和支架之间,支架上开有第一沉孔,塑料面板上设有与第一沉孔过盈配合的第二连接柱,塑料面板上开有通孔,金属外框朝向塑料面板的端面上开有螺纹孔,塑料面板和金属外框通过尾部穿过通孔后拧入螺纹孔的螺钉固定连接;塑料面板朝向金属外框的端面上开有填胶槽,填胶槽内填有粘接胶。通过设置螺钉和填胶槽,并在填胶槽内设置粘接胶,解决了目前支架、塑料面板和金属外框的固定连接问题,实现塑料面板与金属外框的双重固定,即同时采用螺钉连接和粘接方式固定,提高了塑料面板和金属外框连接的可靠性。


