授权公布号:CN218227004U
塑料预留件定向敲落结构
有效
申请
2022-07-04
申请公布
1970-01-01
授权
2023-01-06
预估到期
2032-07-04
| 申请号 | CN202221723320.6 |
| 申请日 | 2022-07-04 |
| 授权公布号 | CN218227004U |
| 授权公告日 | 2023-01-06 |
| 分类号 | B26F3/00 |
| 分类 | 手动切割工具;切割;切断; |
| 申请人名称 | 杭州鸿雁电器有限公司 |
| 申请人地址 | 浙江省杭州市西湖区天目山路248号华鸿大厦 |
专利法律状态
2023-01-06
授权
状态信息
授权
摘要
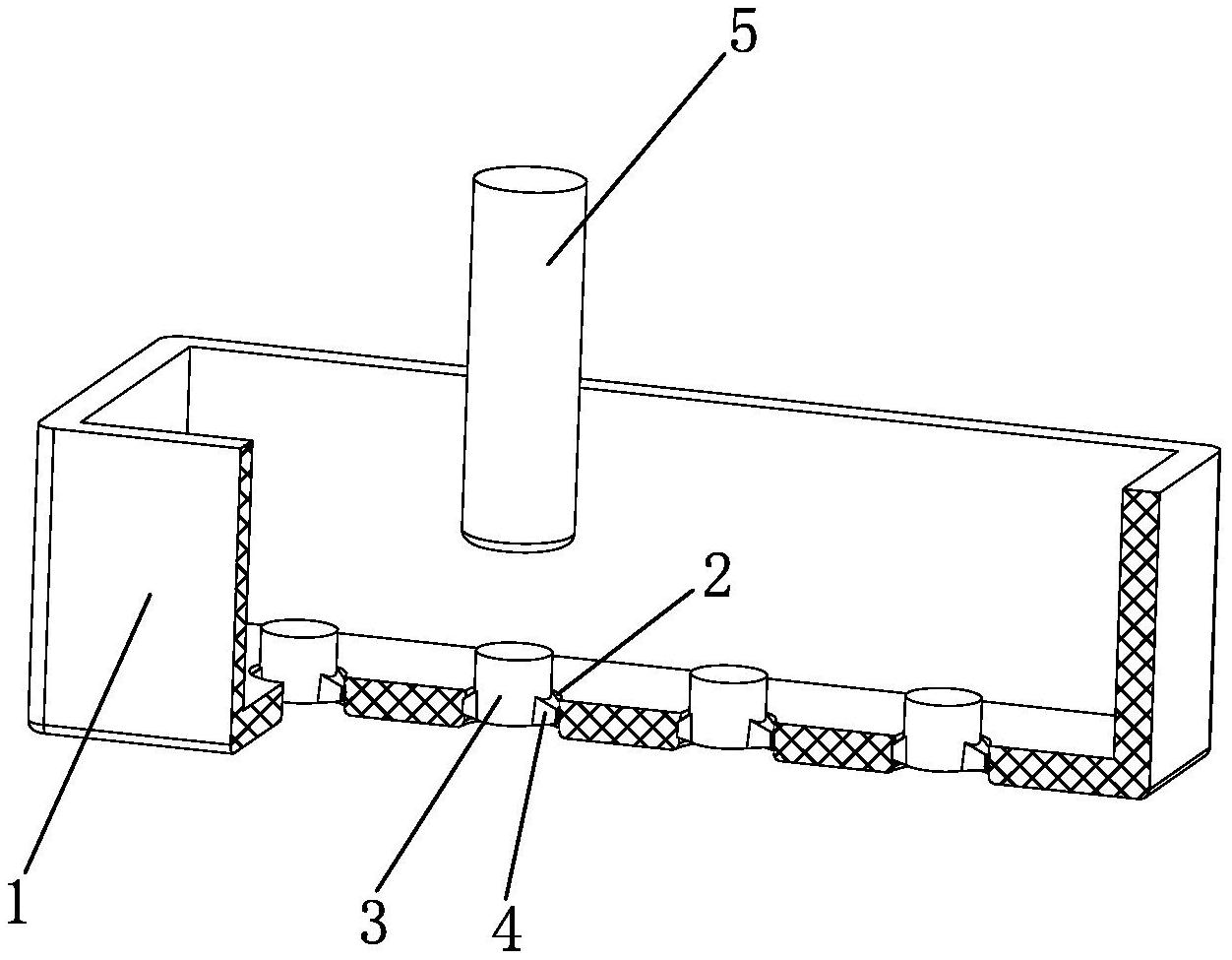
本实用新型涉及一种塑料预留件定向敲落结构,涉及塑料装配技术领域,解决现有塑料件窗口覆盖结构剪切困难,剪切部残留多且不可控的问题,解决上述问题的技术方案主要包括塑料主体,设置在塑料主体上的敲落孔,以及预设在敲落孔内的敲落柱,所述敲落孔与敲落柱之间设有至少一个连接体,通过敲落棒敲击敲落柱,使连接体与敲落柱断开并分离。本实用新型可以使覆盖结构一次敲落,且在预设部位定向断裂,操作省时省力。


