授权公布号:CN220597927U
一种具有消毒作用的干衣机
有效
申请
2023-08-07
申请公布
1970-01-01
授权
2024-03-15
预估到期
2033-08-07
| 申请号 | CN202322112672.9 |
| 申请日 | 2023-08-07 |
| 授权公布号 | CN220597927U |
| 授权公告日 | 2024-03-15 |
| 分类号 | D06F58/12;D06F58/20;A61L2/10 |
| 分类 | 织物等的处理;洗涤;其他类不包括的柔性材料; |
| 申请人名称 | 佛山市顺德区奥德尔实业有限公司 |
| 申请人地址 | 广东省佛山市顺德区(容桂)高新区华天东三路5号 |
专利法律状态
2024-03-15
授权
状态信息
授权
摘要
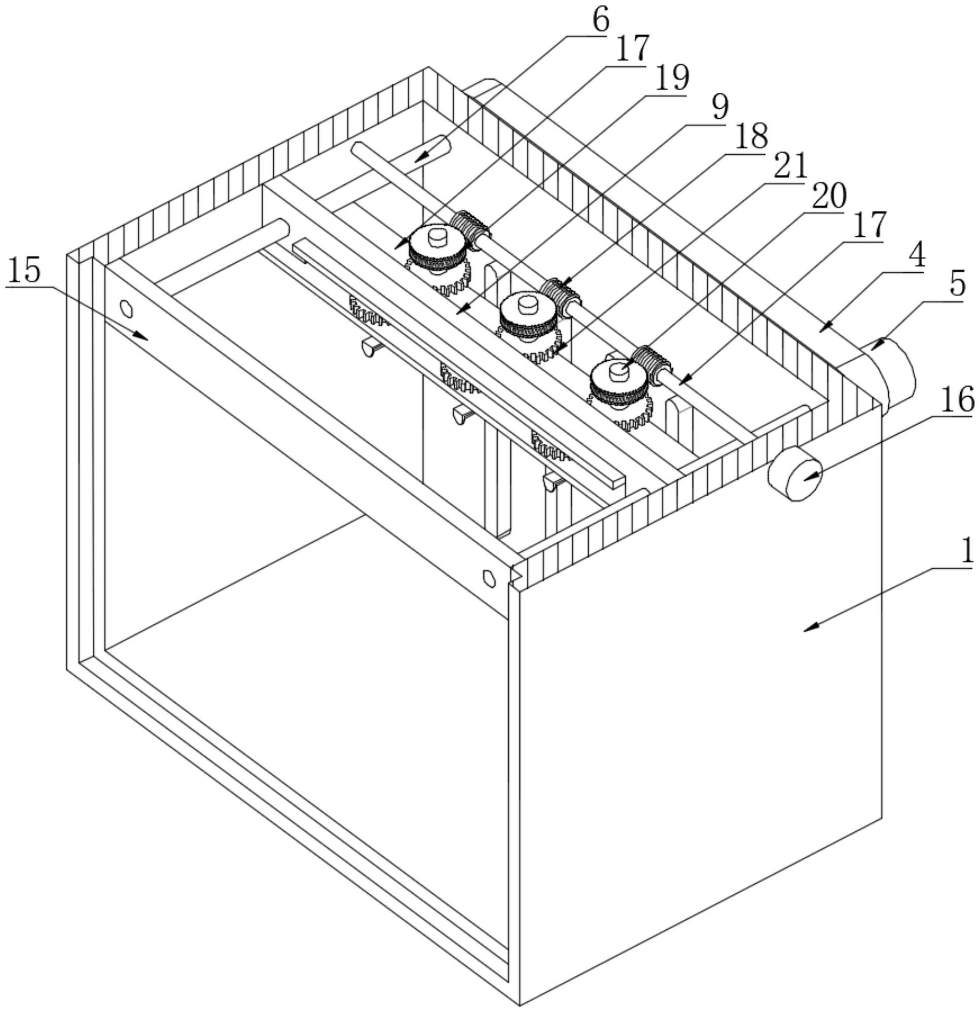
本实用新型公开了一种具有消毒作用的干衣机,涉及干衣机技术领域,其技术方案是:包括干衣机本体,干衣机本体内部固定设有多个紫外线消毒灯,干衣机本体内部设有消毒翻面机构;消毒翻面机构包括翻面组件与进料组件,翻面组件包括传动轴,传动轴设于干衣机本体内部,传动轴外部设有多个翻面单元,一种具有消毒作用的干衣机有益效果是:通过传动轴使得蜗杆带动蜗轮转动,蜗轮转动通过转动轴使得主齿轮带动从齿轮转动,从齿轮转动通过转轴使得挂衣架带动挂置的衣物进行自动旋转,配合紫外线消毒灯发出的紫外线光线,使得挂置的衣物能够自动变换受光面,从而使得衣物能够全面消毒,提高消毒质量。


