授权公布号:CN213574766U
一种壁扇的固定保护结构
有效
申请
2020-10-22
申请公布
1970-01-01
授权
2021-06-29
预估到期
2030-10-22
| 申请号 | CN202022373678.8 |
| 申请日 | 2020-10-22 |
| 授权公布号 | CN213574766U |
| 授权公告日 | 2021-06-29 |
| 分类号 | F04D29/00;F04D25/08;F04D29/60 |
| 分类 | 液体变容式机械;液体泵或弹性流体泵; |
| 申请人名称 | 佛山市顺德区奥德尔实业有限公司 |
| 申请人地址 | 广东省佛山市顺德区(容桂)高新区华天东三路5号 |
专利法律状态
2021-06-29
授权
状态信息
授权
摘要
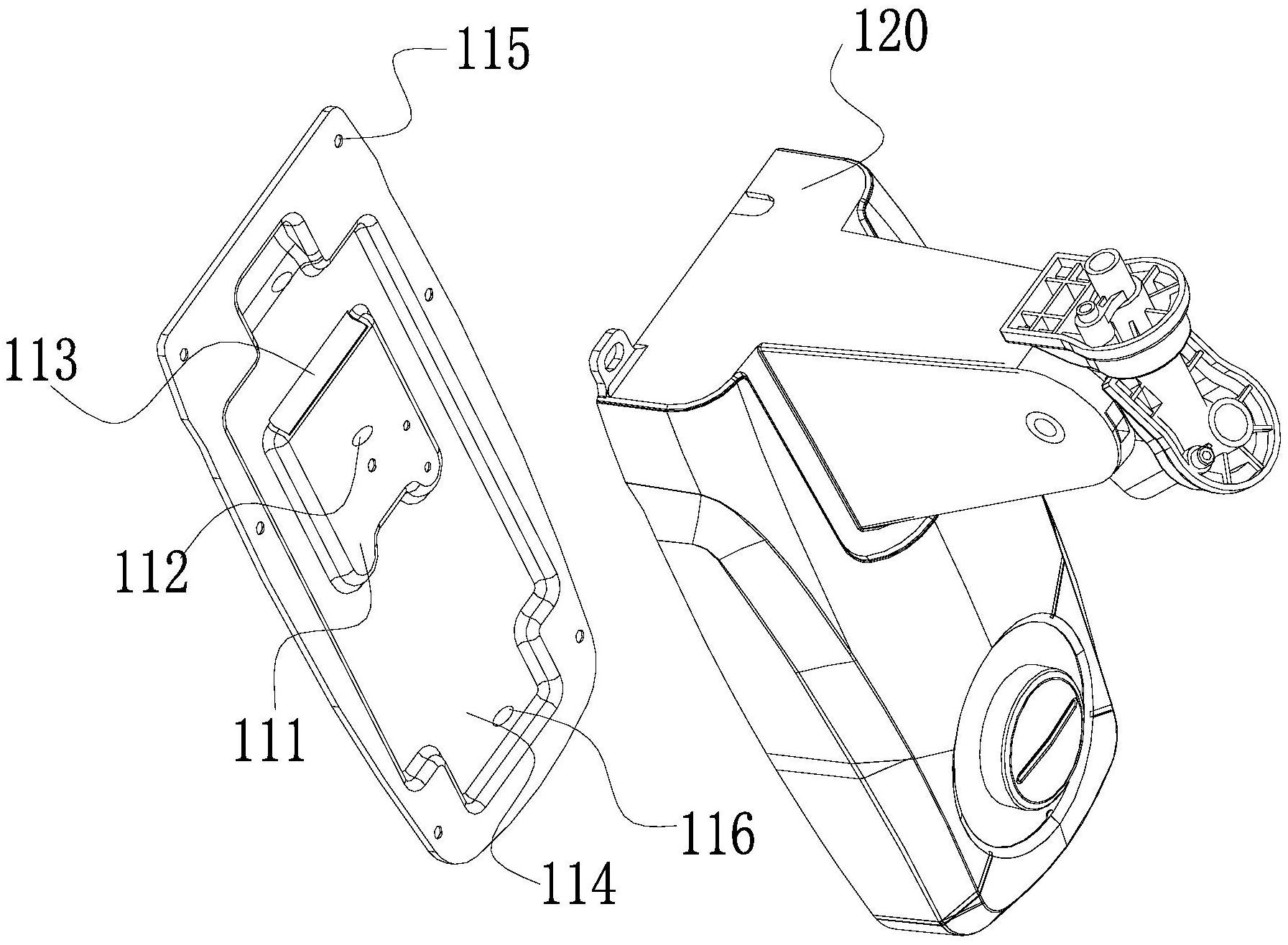
本实用新型涉及一种壁扇的固定保护结构,包括底座和固定板,所述底座包括设置在底座的底部的底板,所述底板的外侧设有向内凹陷的凹陷区,所述凹陷区的顶端设有开槽,所述固定板呈弯折状,所述固定板穿过所述开槽与所述底板卡接;所述固定板和所述底板上分别设有用于固定的固定孔,所述固定板和所述底板通过所述固定孔固定于墙壁。本方案中通过固定板和底板上的固定孔,利用螺钉等物固定在墙壁上,而后固定板与底板卡接,使得固定板或底板中的至少一个承担风扇的重量,开槽既可以供固定板与底板卡接,又可有利于对底座内进行通风。在底板或固定板中任一个上的螺钉发生松脱时,利用另一个上的螺钉达到保护固定的作用。


