授权公布号:CN220149256U
复合滤芯及净水机
有效
申请
2023-06-01
申请公布
1970-01-01
授权
2023-12-08
预估到期
2033-06-01
| 申请号 | CN202321379266.2 |
| 申请日 | 2023-06-01 |
| 授权公布号 | CN220149256U |
| 授权公告日 | 2023-12-08 |
| 分类号 | C02F1/00;B01D35/30;B01D29/96;B01D29/56 |
| 分类 | 水、废水、污水或污泥的处理; |
| 申请人名称 | 艾欧史密斯(中国)环境电器有限公司 |
| 申请人地址 | 江苏省南京市溧水经济开发区溧星路66号 |
专利法律状态
2023-12-08
授权
状态信息
授权
摘要
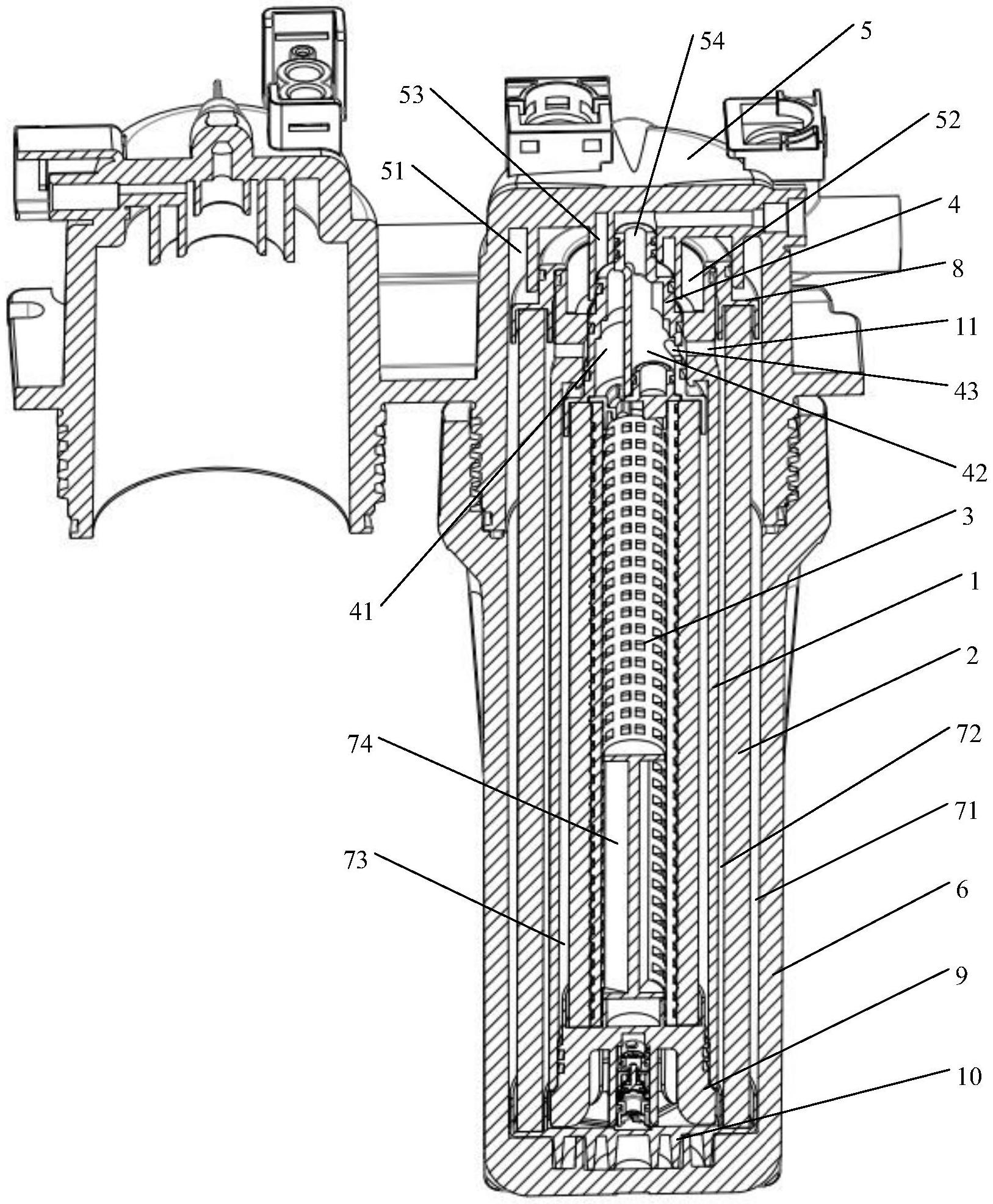
本申请提供了一种复合滤芯及净水机,所述复合滤芯包括:第一过滤组件;第二过滤组件;设置在所述第一过滤组件与所述第二过滤组件之间的隔离组件;所述第一过滤组件围绕所述第二过滤组件设置;连通件,所述连通件包括第一过流通道和第二过流通道;所述第一过流通道的入口和出口分别用于输入和输出经所述第一过滤组件过滤后的过滤水;所述第二过流通道的入口和出口分别用于输入和输出经所述第二过滤组件过滤后的过滤水。本申请可提高复合滤芯的集成性,降低净水机的体积。


