授权公布号:CN106395989B
水处理装置、净水机以及软水机
有效
申请
2016-10-18
申请公布
2017-02-15
授权
2023-05-30
预估到期
2036-10-18
| 申请号 | CN201610907740.2 |
| 申请日 | 2016-10-18 |
| 申请公布号 | CN106395989A |
| 申请公布日 | 2017-02-15 |
| 授权公布号 | CN106395989B |
| 授权公告日 | 2023-05-30 |
| 分类号 | C02F1/44;C02F1/42 |
| 分类 | 水、废水、污水或污泥的处理; |
| 申请人名称 | 艾欧史密斯(中国)环境电器有限公司 |
| 申请人地址 | 江苏省南京市溧水经济开发区溧星路66号 |
专利法律状态
2023-05-30
授权
状态信息
授权
2019-04-23
著录事项变更
状态信息
著录事项变更;IPC(主分类):C02F1/44;变更事项:申请人;变更前:艾欧史密斯(南京)水处理产品有限公司;变更后:艾欧史密斯(中国)环境电器有限公司;变更事项:地址;变更前:211200 江苏省南京市溧水经济开发区中兴西路9号;变更后:211200 江苏省南京市溧水经济开发区溧星路66号
2017-03-15
实质审查的生效
状态信息
实质审查的生效;IPC(主分类):C02F1/44;申请日:20161018
2017-02-15
公布
状态信息
公布
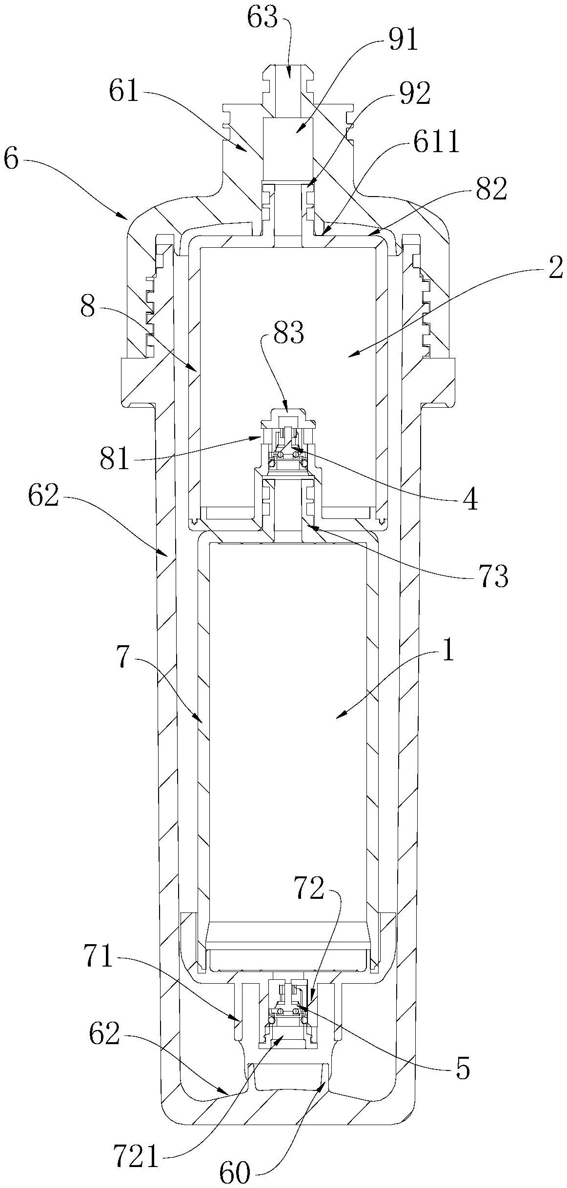
摘要
本申请实施例公开了一种水处理装置、净水机以及软水机,其中,水处理装置具有进水口和出水口,所述水处理装置包括第一壳和第二壳;所述第一壳具有与所述进水口连通并用于容纳水处理材料的第一腔室,所述第二壳具有与所述出水口连通的第二腔室,所述第一腔室与所述第二腔室之间设置有第一控制装置;所述第一控制装置能控制所述第一腔室和所述第二腔室之间的通断。本申请实施方式中的水处理装置具有以下优点:水处理装置停机后再次开机时,第二腔室可以对第一腔室中浓度较高的溶液进行稀释,因而,保证出水水质。


