授权公布号:CN217876436U
饮用水供给装置和饮用水供给系统
有效
申请
2022-08-25
申请公布
1970-01-01
授权
2022-11-22
预估到期
2032-08-25
| 申请号 | CN202222244874.4 |
| 申请日 | 2022-08-25 |
| 授权公布号 | CN217876436U |
| 授权公告日 | 2022-11-22 |
| 分类号 | F24H1/20;F24H1/40;F24H9/00;A61L2/18;A61L2/04;C02F1/02 |
| 分类 | 供热;炉灶;通风; |
| 申请人名称 | 艾欧史密斯(中国)环境电器有限公司 |
| 申请人地址 | 江苏省南京市溧水经济开发区溧星路66号 |
专利法律状态
2022-11-22
授权
状态信息
授权
摘要
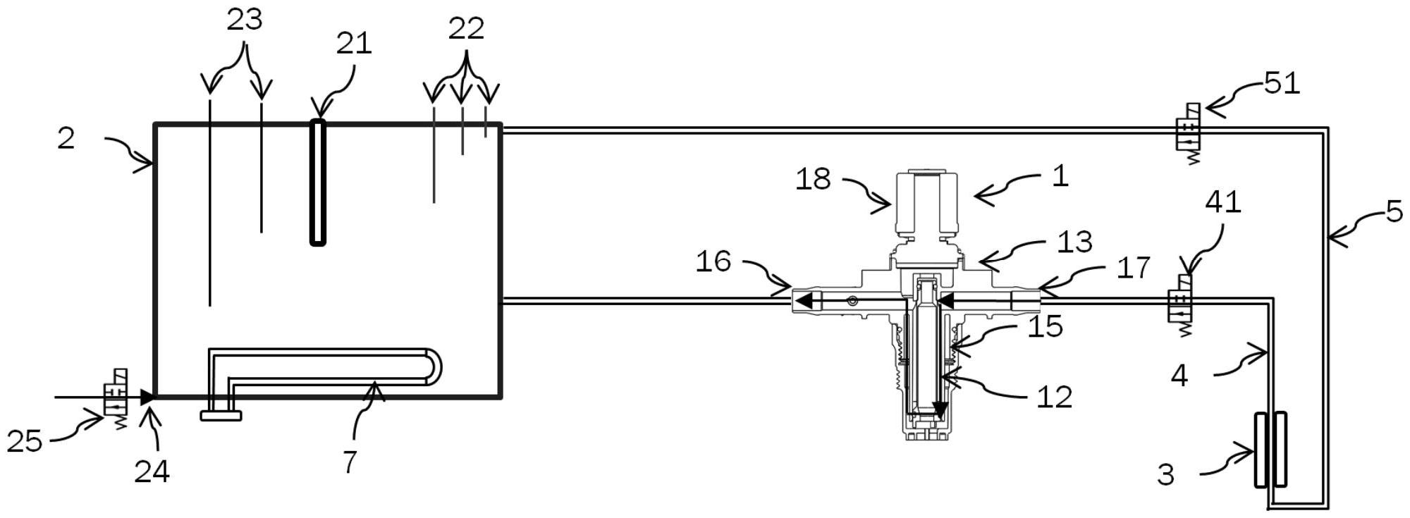
本实用新型公开了一种饮用水供给装置和饮用水供给系统,其涉及水处理技术领域,所述饮用水供给装置包括:第一储水单元;出水机构,所述出水机构包括第一通道、第二通道,流经所述第二通道的水能与形成所述第一通道的至少部分壁面相接触并进行传热,所述第一通道能与所述第一储水单元相连通,所述第二通道能与所述第一储水单元相连通;用于生成高温杀菌介质的杀菌单元,所述杀菌单元能与所述第二通道相连通,以使所述杀菌单元生成的高温杀菌介质流经所述第二通道。本申请能够解决出水机构存在菌落超标的问题。


