授权公布号:CN217865376U
一种用于净水器的包装结构
有效
申请
2022-06-29
申请公布
1970-01-01
授权
2022-11-22
预估到期
2032-06-29
| 申请号 | CN202221667567.0 |
| 申请日 | 2022-06-29 |
| 授权公布号 | CN217865376U |
| 授权公告日 | 2022-11-22 |
| 分类号 | B65D13/00;B65D25/10;B65D25/26;B65D81/05;B65D85/68 |
| 分类 | 输送;包装;贮存;搬运薄的或细丝状材料; |
| 申请人名称 | 康丽根水处理科技(上海)有限公司 |
| 申请人地址 | 上海市徐汇区虹桥路500号29层 |
专利法律状态
2022-11-22
授权
状态信息
授权
摘要
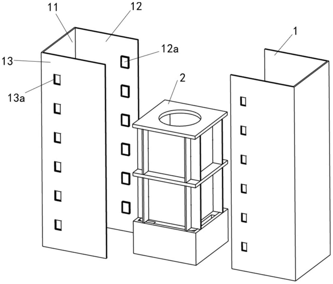
本实用新型涉及一种用于净水器的包装结构,包括外箱壳和固定模块,所述固定模块设置于所述外箱壳内,所述固定模块由纸板制作;所述固定模块包括底座单元和多个支撑单元,所述底座单元用于放置净水器,多个支撑单元层叠在所述底座单元上,其中,每个支撑单元包括井字形支架和隔断板,净水器穿过所述井字形支架的中央镂空处,所述隔断板覆盖在所述井字形支架上,并且隔断板上设有安装孔,净水器穿过所述安装孔。与现有技术相比,本实用新型通过在外箱壳内设置纸板制成的固定模块对净水器进行限位和保护,拆装使用方便,在使用后可以进行回收,环保性好。


