授权公布号:CN105417753B
节能微浓水反渗透装置及其控制方法
有效
申请
2015-12-16
申请公布
2016-03-23
授权
2019-08-06
预估到期
2035-12-16
| 申请号 | CN201510943581.7 |
| 申请日 | 2015-12-16 |
| 申请公布号 | CN105417753A |
| 申请公布日 | 2016-03-23 |
| 授权公布号 | CN105417753B |
| 授权公告日 | 2019-08-06 |
| 分类号 | C02F9/02;B01D65/02;B01D61/12 |
| 分类 | 水、废水、污水或污泥的处理; |
| 申请人名称 | 深圳市汉斯顿净水设备有限公司 |
| 申请人地址 | 安徽省阜阳市颍上县黄桥镇张庄村王庄队35号 |
专利法律状态
2019-11-26
专利申请权、专利权的转移
状态信息
专利权的转移IPC(主分类):C02F 9/02登记生效日:20191106变更前 专利权人:王寒 地址:236200 安徽省阜阳市颍上县黄桥镇张庄村王庄队35号变更后 专利权人:深圳市汉斯顿净水设备有限公司 地址:518000 广东省深圳市坪山新区大工业区青松路56号友利通科技工业厂区A栋101、102、103、201、202、203、301、302、303、401、501、601变更前 共同专利权人:邓见桥 共同专利权人:吴鹏
2019-08-06
授权
状态信息
授权
2016-06-15
实质审查的生效
状态信息
实质审查的生效IPC(主分类):C02F 9/02申请日:20151216
2016-03-23
公布
状态信息
公开
摘要
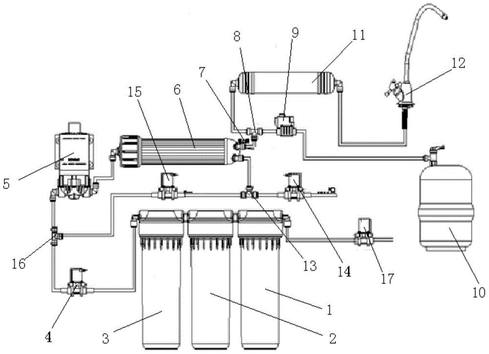
本发明公开了一种节能微浓水反渗透装置及其控制方法,包括水路装置和电路装置,所述水路装置包括顺次通过管道连接的市政自来水进水口、第一级滤芯、第二级滤芯、第三级滤芯、增压泵和反渗透膜元件,所述市政自来水进水口与第一级滤芯之间的管道上设置有减压阀,所述第三级滤芯与增压泵之间的管道上依次设置有进水控制阀和第三三通接头,经过所述增压泵的增压水经过反渗透膜元件后分为纯净水路和浓缩水路,本发明解决了浓水回流及限制浓水排放的弊端,提高水利用率及反渗透膜元件的使用性能,冲洗方式确保反渗透元件的性能得到提高,延长使用寿命,同时确保节水效果,经测试能够确保50%以上水利用率。


