授权公布号:CN218760441U
上部平衡块和涡旋压缩机
有效
申请
2022-11-04
申请公布
1970-01-01
授权
2023-03-28
预估到期
2032-11-04
| 申请号 | CN202223001283.0 |
| 申请日 | 2022-11-04 |
| 授权公布号 | CN218760441U |
| 授权公告日 | 2023-03-28 |
| 分类号 | F04C29/02;F04C18/02 |
| 分类 | 液体变容式机械;液体泵或弹性流体泵; |
| 申请人名称 | 丹佛斯(天津)有限公司 |
| 申请人地址 | 天津市武清区武清开发区福源路5号 |
专利法律状态
2023-03-28
授权
状态信息
授权
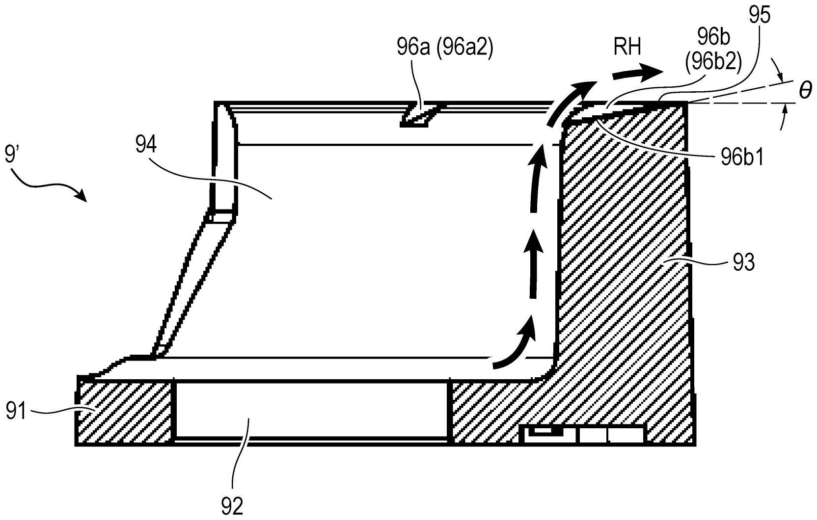
摘要
本实用新型提供一种上部平衡块(9’),该上部平衡块包括底壁(91)和立壁(93)。在底壁中开设有中心孔(92)。立壁设置于底壁上并且相对于中心孔(92)偏置。立壁具有内壁面(94)和顶面(95)。当上部平衡块绕自身的中心轴线旋转时,流体能够在离心力的作用下沿着内壁面爬升至顶面,然后从顶面被甩出去。在顶面上开设有沿着上部平衡块的径向延伸的至少一个凹槽(96a、96b、96c)。凹槽的一端延伸至内壁面,凹槽的另一端延伸至顶面,以允许流体在离心力的作用下沿着内壁面爬升至凹槽中,然后沿着凹槽爬升至顶面,然后从顶面被甩出去。本实用新型还提供一种采用所述上部平衡块的涡旋压缩机(1’),特别是变频涡旋压缩机。


