授权公布号:CN113123972B
油泵和涡旋压缩机
有效
申请
2019-12-31
申请公布
2021-07-16
授权
2023-06-06
预估到期
2039-12-31
| 申请号 | CN201911422757.9 |
| 申请日 | 2019-12-31 |
| 申请公布号 | CN113123972A |
| 申请公布日 | 2021-07-16 |
| 授权公布号 | CN113123972B |
| 授权公告日 | 2023-06-06 |
| 分类号 | F04C29/02 |
| 分类 | 液体变容式机械;液体泵或弹性流体泵; |
| 申请人名称 | 丹佛斯(天津)有限公司 |
| 申请人地址 | 天津市武清区武清开发区福源路5号 |
专利法律状态
2023-06-06
授权
状态信息
授权
2021-08-03
实质审查的生效
状态信息
实质审查的生效;IPC(主分类):F04C29/02;申请日:20191231
2021-07-16
公布
状态信息
公布
摘要
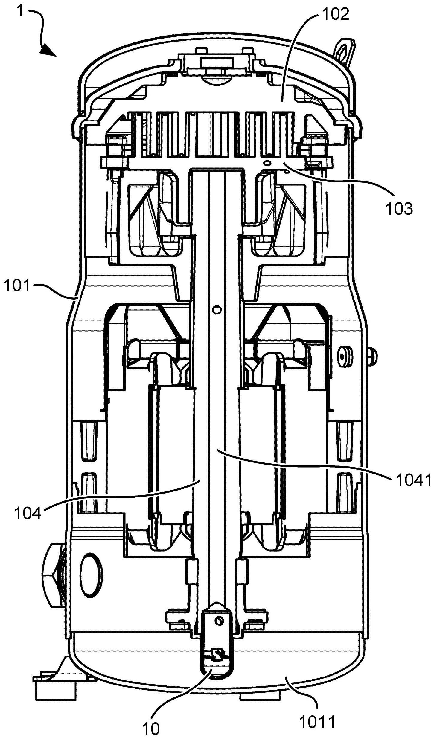
本发明公开了一种立式轴流型油泵(10)。所述油泵包括:壳体(11),所述壳体整体上呈圆筒状并且能够绕自身的中心轴线(O)旋转;吸入口(12),所述吸入口位于所述壳体的轴向上的下端,用于将油吸入所述油泵内;排出口(13),所述排出口位于所述壳体的轴向上的上端,用于将所述油泵内的油排出;以及叶轮(14),所述叶轮设置在所述壳体内并且与所述壳体形成为一体,当所述壳体旋转时所述叶轮随着所述壳体一起旋转,以使油从所述吸入口流向所述排出口。本发明还公开了一种具有所述油泵的涡旋压缩机。


