授权公布号:CN217898551U
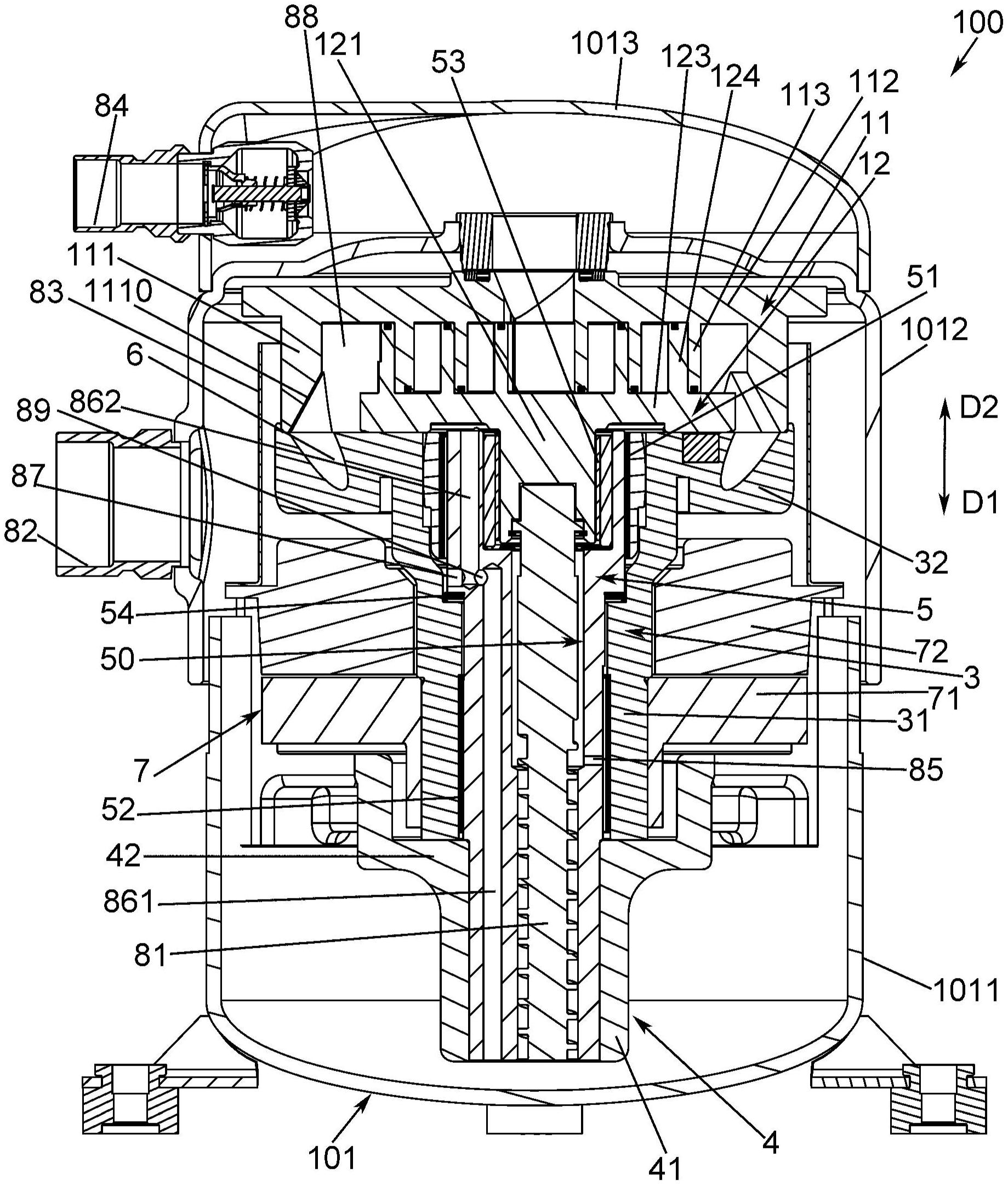
用于涡旋压缩机的套筒以及涡旋压缩机
有效
申请
2021-12-31
申请公布
1970-01-01
授权
2022-11-25
预估到期
2031-12-31
| 申请号 | CN202123449891.3 |
| 申请日 | 2021-12-31 |
| 授权公布号 | CN217898551U |
| 授权公告日 | 2022-11-25 |
| 分类号 | F16C35/02;F16C33/04;F16C33/12;F16C33/20;F16C33/10;F04C29/00;F04C18/02;F04C23/02;F04C29/02 |
| 分类 | 工程元件或部件;为产生和保持机器或设备的有效运行的一般措施;一般绝热; |
| 申请人名称 | 丹佛斯(天津)有限公司 |
| 申请人地址 | 天津市武清区武清开发区福源路5号 |
专利法律状态
2022-11-25
授权
状态信息
授权
摘要
本实用新型的实施例公开了一种用于涡旋压缩机的套筒以及包括该套筒的涡旋压缩机。套筒包括:筒状主体,以及设置于筒状主体的固定部,用于与其它部件配合连接。根据本实用新型的涡旋压缩机结构紧凑、体积小、重量轻。


