授权公布号:CN210274578U
一种发热电缆多股丝隐式接头
有效
申请
2019-07-31
申请公布
1970-01-01
授权
2020-04-07
预估到期
2029-07-31
| 申请号 | CN201921227094.0 |
| 申请日 | 2019-07-31 |
| 授权公布号 | CN210274578U |
| 授权公告日 | 2020-04-07 |
| 分类号 | H05B3/56;H01R4/62;H01R4/02 |
| 分类 | 其他类目不包含的电技术; |
| 申请人名称 | 贵州伊思特新技术发展有限责任公司 |
| 申请人地址 | 贵州省贵阳市高新开发区金阳知识经济产业园5栋3楼 |
专利法律状态
2020-04-07
授权
状态信息
授权
摘要
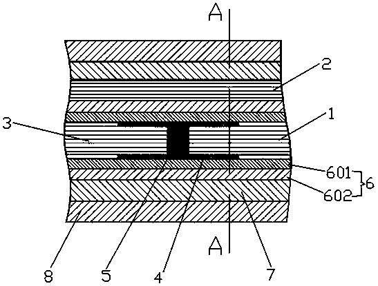
本实用新型公开了一种发热电缆多股丝隐式接头,它用于不同材质、小直径多绞股金属丝的对接,包括铜镍合金材质的多丝发热线和铜质多丝冷线,在多丝发热线与多丝冷线的端头均包裹有镀银层,并对接钎焊形成固连部,固连部外部包裹有绝缘层,在绝缘层外设有与之并行的接地线,并且在二者外部从内到外依次包裹有一次成型的屏蔽层和护套层。本实用新型结构简单,适用范围广,尤其适用于多股丝电缆冷、热线的隐式接头结构,焊接牢靠,安全性高,使用寿命长;其制造工序简单,可形成批量化生产,生产效率高,生产质量好。


