授权公布号:CN116358022B
一种高效热能环浴霸
有效
申请
2023-03-30
申请公布
2023-06-30
授权
2023-09-12
预估到期
2043-03-30
| 申请号 | CN202310358648.5 |
| 申请日 | 2023-03-30 |
| 申请公布号 | CN116358022A |
| 申请公布日 | 2023-06-30 |
| 授权公布号 | CN116358022B |
| 授权公告日 | 2023-09-12 |
| 分类号 | F24D13/02;F24D19/00;F24H3/04 |
| 分类 | 供热;炉灶;通风; |
| 申请人名称 | 奥普家居股份有限公司 |
| 申请人地址 | 浙江省杭州市杭州经济技术开发区21号大街210号 |
专利法律状态
2023-09-12
授权
状态信息
授权
2023-07-18
实质审查的生效
状态信息
实质审查的生效;IPC(主分类):F24D13/02;申请日:20230330
2023-06-30
公布
状态信息
公布
摘要
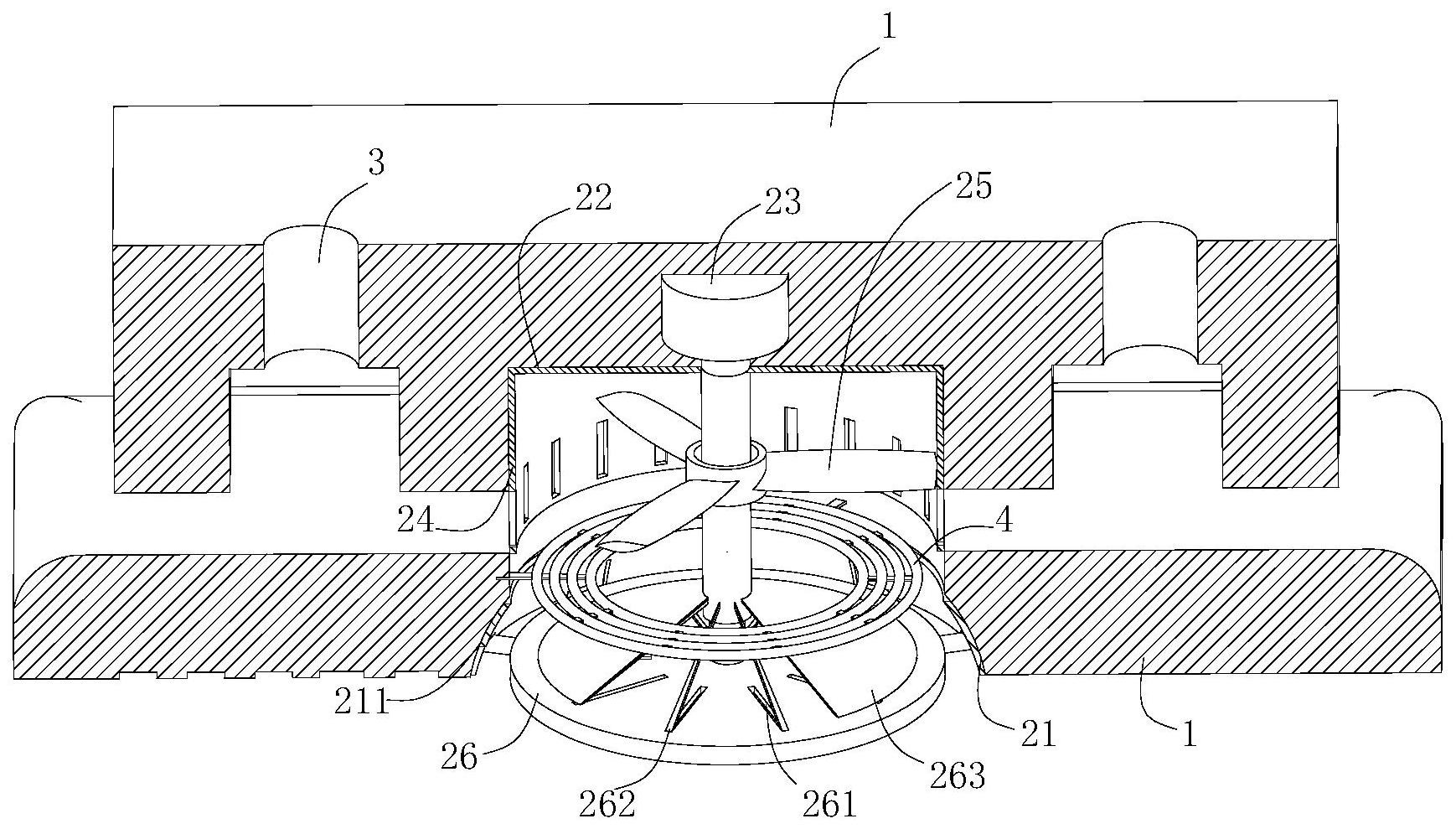
本发明涉及浴霸技术领域,具体说是一种高效热能环浴霸;包括:当一号筒进行转动时,一号筒内部的扇叶进行转动,扇叶进行转动时,扇叶对下方的气流进行鼓动,下方气流进行流动时,冷空气从安装箱和下面板之间的间隙进来流经PTC陶瓷或碳纤维加热元件,吹出去就成了暖风,当热风经过发热元件后,暖风进入出风口,暖风与分流盘进行接触,分流盘使暖风无法直接从顶部吹出,迫使暖风从分流盘与柱形槽之间的环形间隙吹出,从而实现对浴室内部进行加热,使热风循环流动带动室内升温;进而实现取暖效果比较均衡,能让整个空间都很暖和。


