授权公布号:CN219183562U
一种洗地机器人滚刷烘干装置
有效
申请
2022-12-23
申请公布
1970-01-01
授权
2023-06-16
预估到期
2032-12-23
| 申请号 | CN202223449804.9 |
| 申请日 | 2022-12-23 |
| 授权公布号 | CN219183562U |
| 授权公告日 | 2023-06-16 |
| 分类号 | A47L11/282;A47L11/40 |
| 分类 | 家具;家庭用的物品或设备;咖啡磨;香料磨;一般吸尘器; |
| 申请人名称 | 湖南格兰博智能科技有限责任公司 |
| 申请人地址 | 湖南省郴州市苏仙区白露塘镇石虎大道与林经二路交汇处(郴州远大住宅工业有限公司旁) |
专利法律状态
2023-06-16
授权
状态信息
授权
摘要
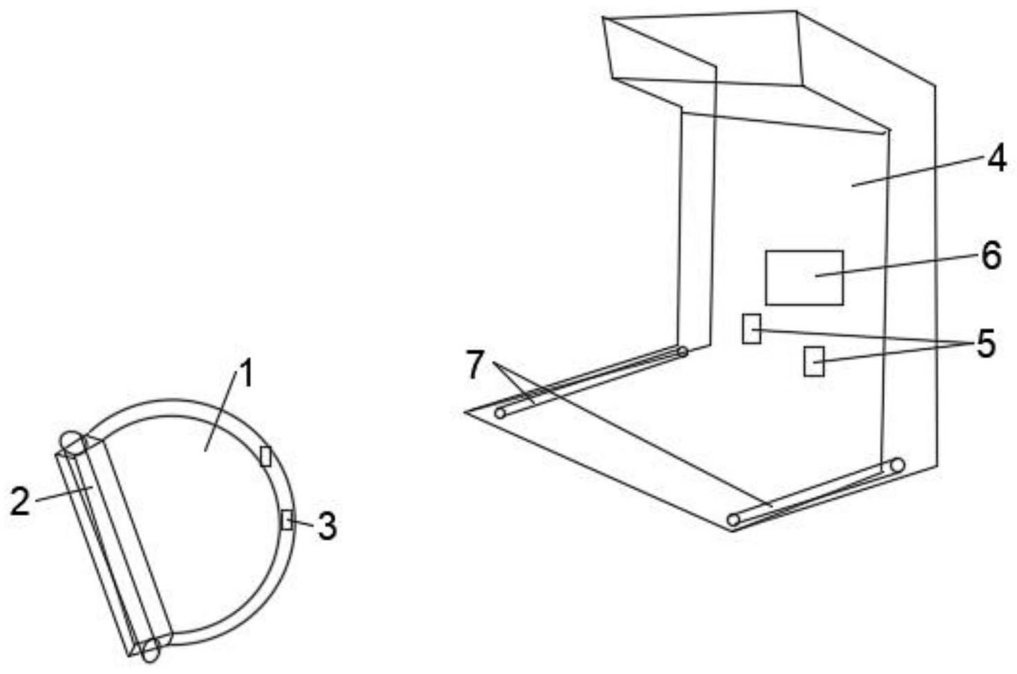
本实用新型涉及洗地机器人相关技术领域,且公开了一种洗地机器人滚刷烘干装置,用于实现对洗地机器人上的洗地机器人滚刷的清洗,所述洗地机器人滚刷烘干装置包括:基站,所述基站上设置有用于给洗地机器人充电的充电单元;烘干组件,所述烘干组件安装于基站上;其中所述烘干组件包括热风发生器和热风导管,所述热风发生器用于向所述热风导管内输送热风,所述热风导管安装于基站上;本实用新型可有效解决洗地机器人滚刷难以烘干的问题,且成本低,市场前景广阔。


