授权公布号:CN218281026U
一种清扫车用弹性除尘装置
有效
申请
2022-07-27
申请公布
1970-01-01
授权
2023-01-13
预估到期
2032-07-27
| 申请号 | CN202221962385.6 |
| 申请日 | 2022-07-27 |
| 授权公布号 | CN218281026U |
| 授权公告日 | 2023-01-13 |
| 分类号 | B01D46/24;B01D46/76;B01D46/42;E01H1/08 |
| 分类 | 一般的物理或化学的方法或装置; |
| 申请人名称 | 安徽爱瑞特新能源专用汽车股份有限公司 |
| 申请人地址 | 安徽省芜湖市繁昌县经济开发区 |
专利法律状态
2023-01-13
授权
状态信息
授权
摘要
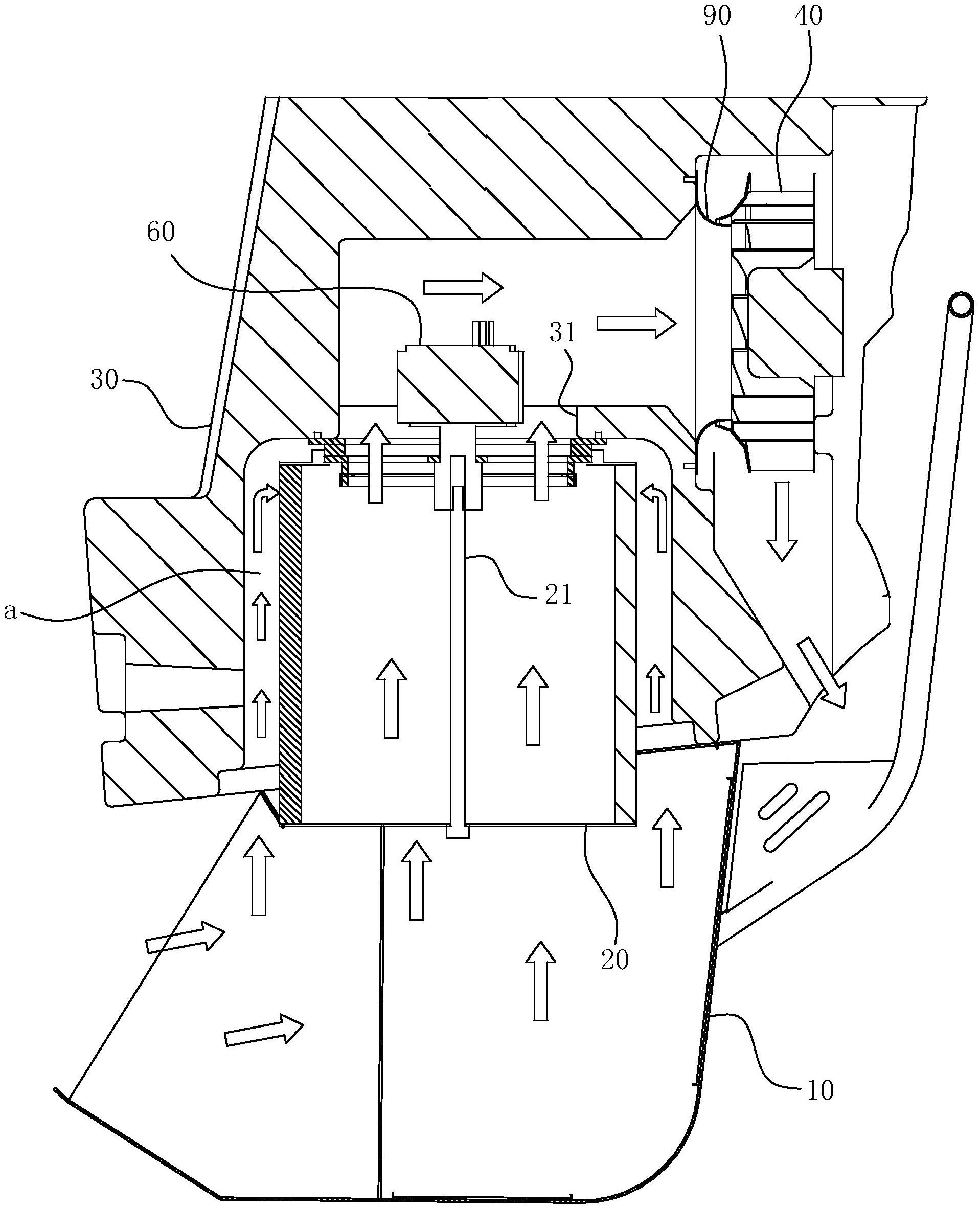
本实用新型属于清扫车除尘技术领域,具体涉及一种清扫车用弹性除尘装置。本实用新型包括进气风道、垃圾收集箱、过滤体、出气腔以及出气风道和吸尘风机;其特征在于:所述过滤体外形呈轴线铅垂且桶口朝上的过滤桶状,垃圾收集箱内腔与出气腔之间通过环隔板隔离彼此,且环隔板的环腔构成可供气流通行的安装孔,过滤体的桶口与安装孔之间通过橡胶密封圈密封彼此,以使得垃圾收集箱处气流仅能经由过滤体进入出气腔;该装置还包括安装在出气腔内的振动电机,所述振动电机的输出轴固定在过滤体处且两者轴线彼此同轴。本实用新型具备除尘可靠性高、结构紧凑小巧和使用便捷的优点,能有效提升清扫车的作业效率。


