授权公布号:CN109827281B
新风换气机
有效
申请
2018-12-25
申请公布
2019-05-31
授权
2020-10-16
预估到期
2038-12-25
| 申请号 | CN201811594321.3 |
| 申请日 | 2018-12-25 |
| 申请公布号 | CN109827281A |
| 申请公布日 | 2019-05-31 |
| 授权公布号 | CN109827281B |
| 授权公告日 | 2020-10-16 |
| 分类号 | F24F7/08 |
| 分类 | 供热;炉灶;通风; |
| 申请人名称 | 森德(中国)暖通设备有限公司 |
| 申请人地址 | 北京市通州区中山街59号院1号one国际广场18层1806房间 |
专利法律状态
2020-10-16
授权
状态信息
授权
2019-06-25
实质审查的生效
状态信息
实质审查的生效;IPC(主分类):F24F7/08;专利申请号:2018115943213;申请日:20181225
2019-05-31
发明专利申请公布
状态信息
公布
摘要
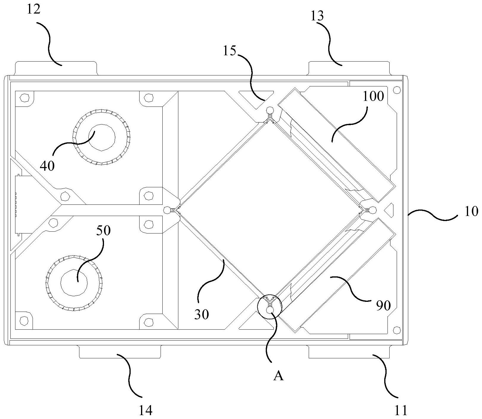
本发明提供了一种新风换气机,属于新风换气设备技术领域,新风换气机,包括机壳、顶板、热交换机芯、送风机及排风机;顶板罩设在机壳顶部开口处,机壳内设置相隔离的新风风道和污风风道;机壳内设置有用于安装热交换机芯的多个安装凸棱,多个安装凸棱形成用于夹持安装热交换机芯的空间,安装凸棱设置有Y型安装槽,Y型安装槽内设置有用于密封热交换机芯的Y型密封垫;热交换机芯设置有相互隔离的第一风道和第二风道,第一风道与新风风道连通,第二风道与污风风道连通。本发明提供的新风换气机,便于热交换机芯安装在新风换气机的机壳内,并且提升热交换机芯与机壳之间的密封效果。


