授权公布号:CN217161758U
电水壶
有效
申请
2022-03-28
申请公布
1970-01-01
授权
2022-08-12
预估到期
2032-03-28
| 申请号 | CN202220700634.8 |
| 申请日 | 2022-03-28 |
| 授权公布号 | CN217161758U |
| 授权公告日 | 2022-08-12 |
| 分类号 | A47J27/21 |
| 分类 | 家具;家庭用的物品或设备;咖啡磨;香料磨;一般吸尘器; |
| 申请人名称 | 宁波西摩电器有限公司 |
| 申请人地址 | 浙江省宁波市余姚市新建北路737-1号 |
专利法律状态
2022-08-12
授权
状态信息
授权
摘要
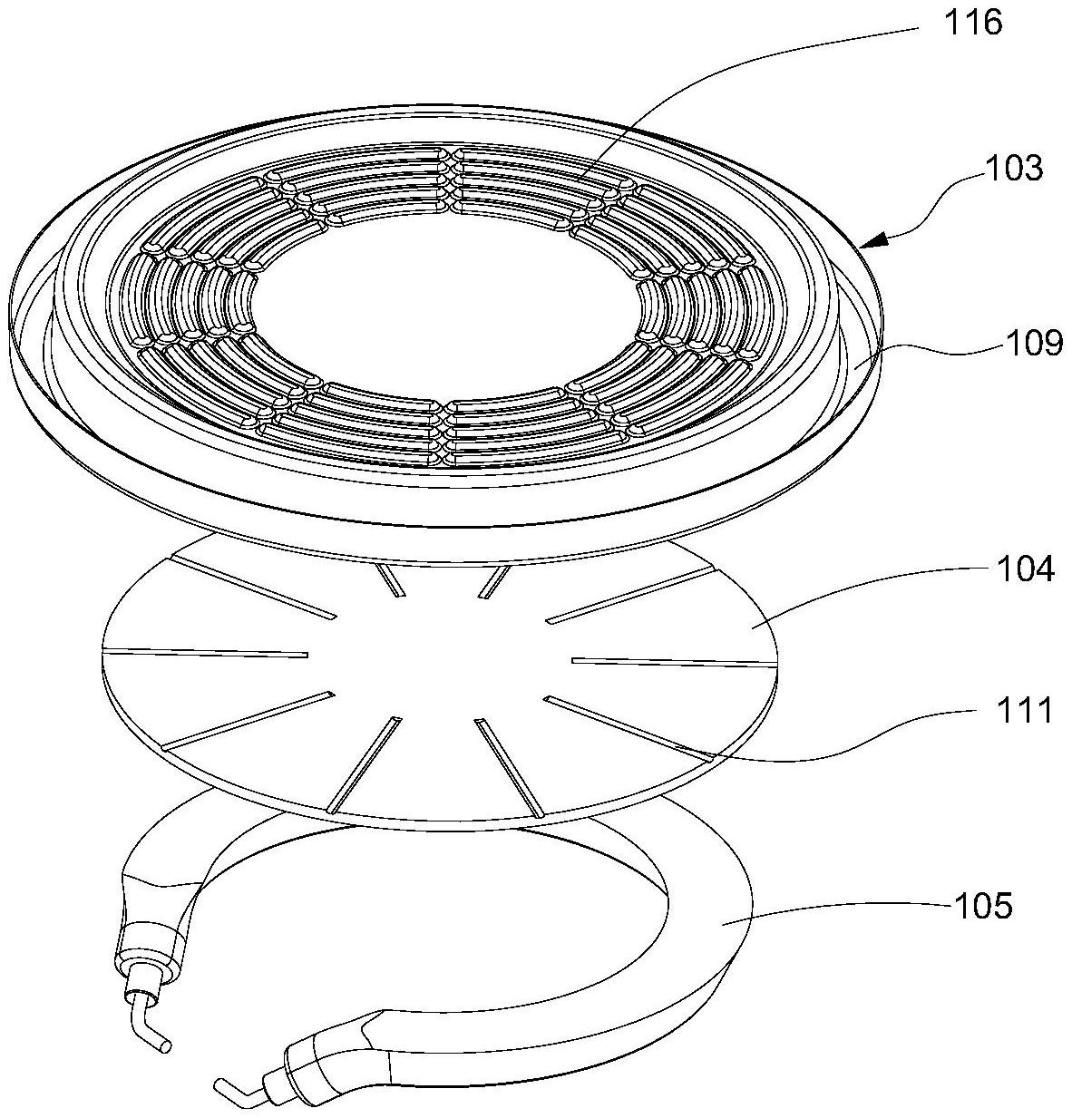
本公开涉及家用电器技术领域,尤其是涉及一种电水壶,其包括壶身和发热盘,发热盘设置于壶身的底部,发热盘包括底盘、导热板和电热管,底盘设置于壶身的底部,导热板固定设置于底盘的下表面,电热管固定设置于导热板的下表面;底盘的下表面设置有多个朝向底盘的上表面隆起的隆起部,多个隆起部沿底盘的周向间隔设置,且多个隆起部与电热管的位置相对应,隆起部与导热板之间形成空腔,不仅能够增加电热管上方的底盘高温区域的散热面积,而且便于冲压成型,有利于防止底盘变形。由于隆起部与导热板之间形成空腔,即隆起部与电热管之间的距离增大,从而降低了该高温区域的温度,进而使得电水壶中的水受热较为均匀,减小了噪音。


