授权公布号:CN103574746B
无油汀的制造方法
有效
申请
2013-11-14
申请公布
2014-02-12
授权
2017-02-08
预估到期
2033-11-14
| 申请号 | CN201310567727.3 |
| 申请日 | 2013-11-14 |
| 申请公布号 | CN103574746A |
| 申请公布日 | 2014-02-12 |
| 授权公布号 | CN103574746B |
| 授权公告日 | 2017-02-08 |
| 分类号 | F24D13/04;F24D19/00 |
| 分类 | 供热;炉灶;通风; |
| 申请人名称 | 宁波西摩电器有限公司 |
| 申请人地址 | 浙江省余姚市新建北路737-1号 |
专利法律状态
2017-02-08
授权
状态信息
授权
2014-03-12
实质审查的生效
状态信息
实质审查的生效IPC(主分类):F24D 13/04申请日:20131114
2014-02-12
公布
状态信息
公开
摘要
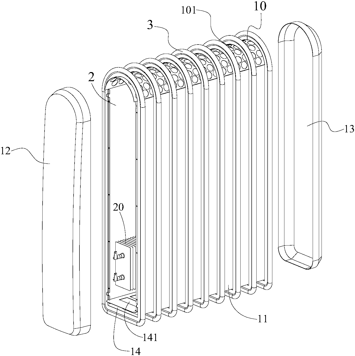
本发明公开了一种无油汀及其制造方法,所述无油汀包括:壳体,所述壳体具有顶板、底板、两侧壁、前盖和后盖,所述顶板均匀的布置有散热孔;腔体,由所述壳体围成,所述腔体内设置有加热元件,所述加热元件设置在所述腔体的底部;所述无油汀还包括:多个散热片,垂直于连接于所述壳体的顶部,并延伸至所述侧壁。本发明同时解决了无油汀顶部防护和侧面散热的技术问题。


