授权公布号:CN220529802U
一种咖啡机的温度控制装置以及咖啡机
有效
申请
2023-08-04
申请公布
1970-01-01
授权
2024-02-27
预估到期
2033-08-04
| 申请号 | CN202322104865.X |
| 申请日 | 2023-08-04 |
| 授权公布号 | CN220529802U |
| 授权公告日 | 2024-02-27 |
| 分类号 | A47J31/46;A47J31/56;A47J31/44 |
| 分类 | 家具;家庭用的物品或设备;咖啡磨;香料磨;一般吸尘器; |
| 申请人名称 | 广东新宝电器股份有限公司 |
| 申请人地址 | 广东省佛山市顺德区勒流镇政和南路 |
专利法律状态
2024-02-27
授权
状态信息
授权
摘要
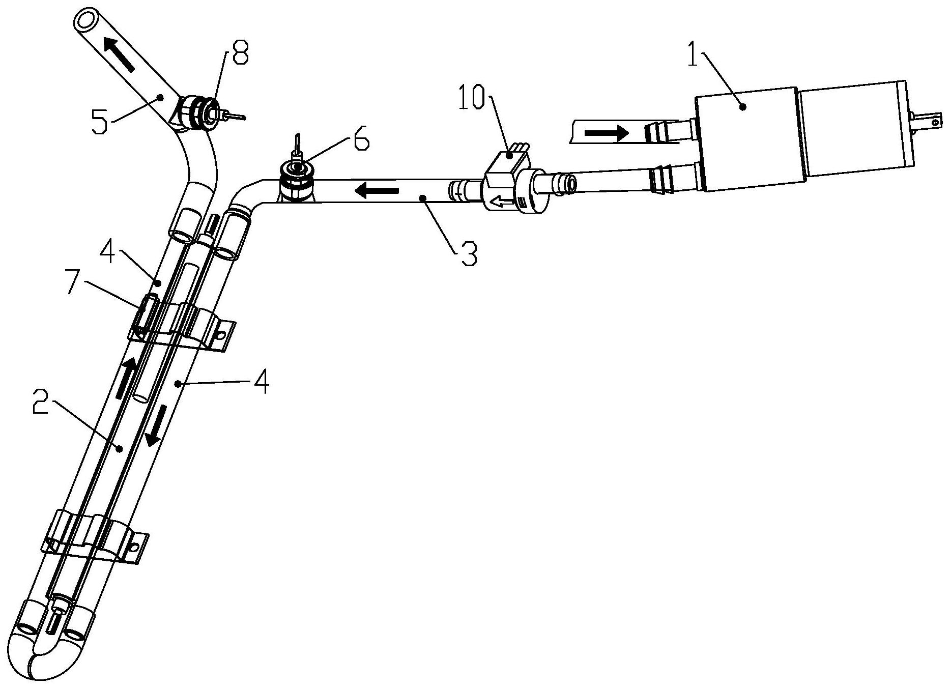
本实用新型提供了一种咖啡机的温度控制装置以及咖啡机,咖啡机的温度控制装置包括水泵、发热管、水管组件、温度检测组件以及控制板。水管组件包括依次连接的第一管道、第二管道以及第三管道,第一管道连接于水泵的出水口,发热管设于第二管道的外壁上。温度检测组件包括第一温度传感器、第二温度传感器以及第三温度传感器。控制板用于接收第一温度传感器检测的第一温度值以及第二温度传感器检测的第二温度值,并向水泵发送第一控制指令,还用于接收第三温度传感器检测的第三温度值,并向发热管发送第二控制指令。上述结构能够准确检测不同管道内的液体的温度值,控制板能够根据所检测的温度值控制水泵和发热管,从而实现对水温的精准控制。


